ШАРНИРНЫЙ КРОНШТЕЙН И РЫЧАГ РУЛЕВОГО МЕХАНИЗМА — [0D283222 THRU 0 0G760299] - USA — купить в Victory Marine
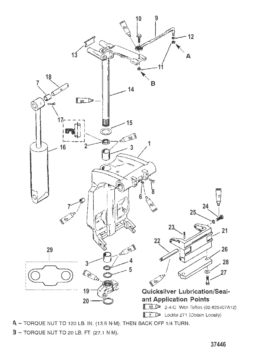
ШАРНИРНЫЙ КРОНШТЕЙН И РЫЧАГ РУЛЕВОГО МЕХАНИЗМА
2
3
4
5
6
7
8
9
10
13
14
15
16
18
20
21
22
23
24
25
27
29

ШАРНИРНЫЙ КРОНШТЕЙН И РЫЧАГ РУЛЕВОГО МЕХАНИЗМА

276 609 ₽

109 511 ₽

1 . BRKT ASY-STEEL/GR Mercury 818904T4

818904A4 → 818904A3 → 818904T4

108 413 ₽

Уточняйте

97 688 ₽

4 883 ₽

3 . Втулка 818764

67669 → 818764

4 478 ₽

Уточняйте

1 803 ₽

Уточняйте

1 139 ₽

203 ₽

16 472 ₽

2 549 ₽

11 . ГАЙКА (0.375-24), латунь Mercury 8M0042636

826709113 → 34863 → 20509 → 8M0042636

Уточняйте

300 ₽

1 978 ₽

94 971 ₽

14 . ORD 99661A35 Mercury 99661A36

99661A27 → 99661A22 → 99661A11 → 99661A36

33 358 ₽

884 ₽

16 . SHOCK ABSORBER-BL Mercury 99724T15

99724A15 → 99724A2 → 99724T15

Уточняйте

18 . ВАЛ Mercury 99625002

996251 → 99625002

3 089 ₽

29 746 ₽

19 . ORD 42961A06 Mercury 42961T2

42961A2 → 42961A3 → 42961T2

4 070 ₽

Уточняйте

561 ₽

Уточняйте

Уточняйте

755 ₽

474 ₽

25 . ШАЙБА Mercury 4002319

4002219 → 809931072 → 4002319

347 ₽

25 . Шайба 400256

16819 → 95303 → 400256

225 ₽

27 . ВИНТ (M6 x 25) Mercury 4000330

16166 → 879194250 → 823042039 → 4000330

Уточняйте

113 ₽

2 876 ₽

Полезные статьи

Все статьи →
Связаться с нами