Рычаг газа и шток механизма переключения передач — [0G303046 THRU 0G760299] - USA — купить в Victory Marine
Рычаг газа и шток механизма переключения передач
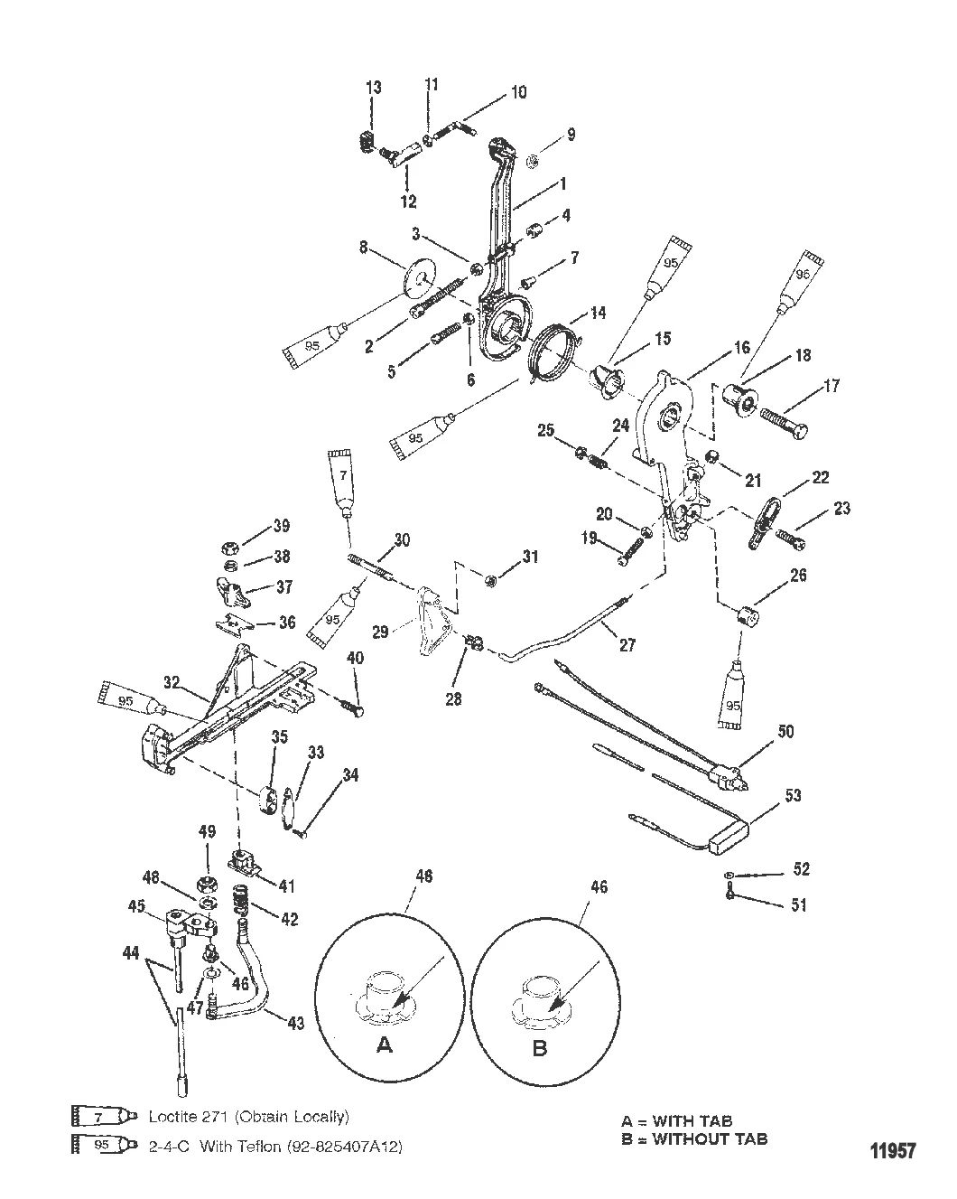
1
5
6
7
8
9
10
11
12
13
14
15
16
17
18
19
20
21
22
23
24
26
27
28
30

Рычаг газа и шток механизма переключения передач

13 926 ₽

358 ₽

6 . Гайка 68219

20645 → 33252 → 68219

72 ₽

564 ₽

1 522 ₽

9 . ГАЙКА (№10-32) Mercury 46438

20565 → 37806 → 20652 → 46438

684 ₽

1 618 ₽

201 ₽

2 900 ₽

13 . PIVOT Mercury 74897T

74897 → 74897T

1 815 ₽

594 ₽

1 080 ₽

13 166 ₽

647 ₽

2 057 ₽

448 ₽

20 . ГАЙКА (0.250-20) Mercury 64015

F1341 → F15051 → 64015

266 ₽

565 ₽

1 068 ₽

248 ₽

530 ₽

206 ₽

27 . ШТОК Mercury 8302391

830239 → 8302391

978 ₽

28 . Втулка 932481

93248 → 932481

946 ₽

Уточняйте

Уточняйте

Уточняйте

363 ₽

Полезные статьи

Все статьи →
Гайды и подбор

Рыбалка на Рыбинском водохранилище 2026 — места, рыба, базы

Всё о рыбалке на Рыбинке в 2026 году: где ловить судака и щуку, лучшие базы, сезонные особенности и правила.

1 мин.
Гайды и подбор

ППВВП для маломерных судов — навигационные правила простым языком

Правила плавания по внутренним водным путям кажутся сложными только на первый взгляд. Разбираем основные навигационные правила для маломерных судов: приоритет, знаки, скорость, обгон и ночное плавание.

1 мин.
Обслуживание и ремонт

Вибрация лодочного мотора — причины, диагностика и устранение

Вибрация лодочного мотора может быть вызвана десятком причин — от повреждённого винта до износа подвески. Разбираем каждую причину, объясняем, как диагностировать, и рассказываем, что можно исправить самому, а с чем ехать в сервис.

1 мин.
Связаться с нами