Популярные города
Товаров не найдено, но мы можем привезти под заказ
Нет аккаунта?
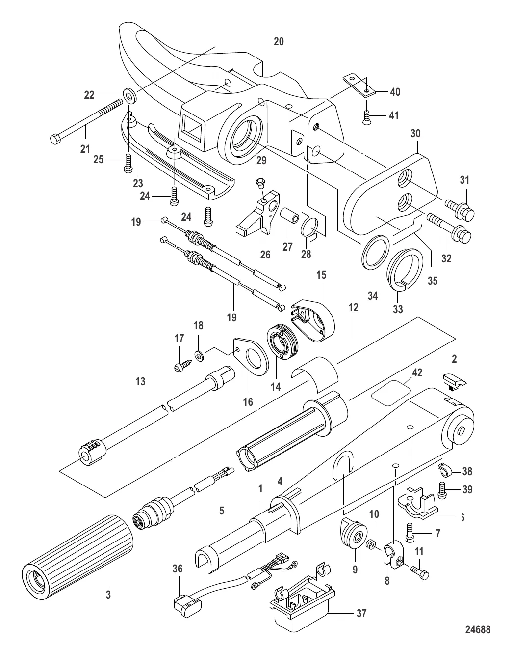
РУМПЕЛЬНАЯ РУКОЯТКА Mercury 8M0051374
803996T01 → 8M0051374
ПРОБКА Колпачок Mercury 8M0051375
895134 → 8M0051375
РУКОЯТКА Резина Mercury 8M0051376
853775001 → 8M0051376
РУКОЯТКА Mercury 8M0051377
853775002 → 8M0051377
ПЕРЕКЛЮЧАТЕЛЬ В СБОРЕ Стоп Mercury 8M0051405
823037A07 → 8M0051405
КРОНШТЕЙН Алюминий Mercury 8M0051380
853752001 → 8M0051380
ЗАЖИМ Трение – газ Mercury 8M0051382
813026001 → 8M0051382
ГАЙКА Mercury 8M0051383
892776 → 8M0051383
Пружина 8M0051384
892777 → 8M0051384
ВИНТ (M6 x 25) Mercury 4000330
16166 → 879194250 → 823042039 → 4000330
НАКЛЕЙКА Реверс с румпельной рукояткой – быстрый Mercury 896853008
898101201 → 896853008
ВАЛ Дроссельная заслонка Mercury 8M0051379
803998004 → 803998003 → 803998001 → 8M0051379
ШКИВ Mercury 8M0051386
895137 → 8M0051386
КОРПУС Mercury 8M0051387
895138 → 8M0051387
КРЫШКА Mercury 8M0051388
895139 → 8M0051388
ВИНТ Нарезной – нержавеющая сталь Mercury 16257003
16257003
шайба Mercury 8M0108373
16080 → 8M0108373
КАБЕЛЬ Дроссельная заслонка Mercury 8M0051390
895131A02 → 8M0051390
РУКОЯТКА Для переноски Mercury 8M0051392
804019T01 → 8M0051392
БОЛТ Стальной Mercury 8M0058362
895140 → 8M0058362
ШАЙБА Mercury 879194340
895141 → 879194340
КОМПЛЕКТ КРЫШЕК Mercury 895142A01
895142 → 895142A01
ВИНТ Нержавеющая сталь (M4 x 16) Mercury 8M0051394
898101230 → 895143 → 8M0051394
винт Mercury 8M0051395
898101241 → 8M0051395
РЫЧАГ Фиксатор положения румпеля – из нержавеющей стали Mercury 8M0051396
895144 → 8M0051396
ВТУЛКА Нержавеющая сталь Mercury 8M0051397
95286025 → 8M0051397
ПРУЖИНА Нержавеющая сталь Mercury 8M0051398
892777001 → 8M0051398
STOPPER Mercury 8M0051399
853776 → 8M0051399
КРЫШКА Mercury 8M0051400
895145 → 895145001 → 8M0051400
БОЛТ Mercury 823042
879194263 → 825702002 → 823042
БОЛТ Нержавеющая сталь Mercury 8M0051402
879194267 → 823042042 → 8M0051402
ВТУЛКА Пластик Mercury 8M0051403
851858006 → 8M0051403
ШАЙБА Резина Mercury 8M0051404
898101217 → 804508001 → 8M0051404
НАКЛЕЙКА Фиксатор реверса румпеля Mercury 892904006
898101202 → 892904006
SWITCH 8M0162937
8M4501991 → 8M0162937
Housing Switch - Plastic 8M0151038
8M4501941 → 8M0151038
ЗАЖИМ Mercury 17169
17169
ВИНТ Mercury 8M0051381
878388 → 8M0051381
HOLDER / PLATE Mercury 8M4501970
803548002 → 8M4501970
винт Mercury 8M4501983
895107002 → 8M4501983
НАКЛЕЙКА Пуск Mercury 8M0100257
8M0100257
14 973 ₽
543 ₽
Уточняйте
2 339 ₽
4 535 ₽
572 ₽
535 ₽
939 ₽
542 ₽
743 ₽
4 780 ₽
759 ₽
689 ₽
646 ₽
426 ₽
109 ₽
2 340 ₽
24 422 ₽
642 ₽
175 ₽
2 624 ₽
276 ₽
260 ₽
2 315 ₽
805 ₽
838 ₽
308 ₽
4 959 ₽
238 ₽
659 ₽
508 ₽
566 ₽
13 841 ₽
1 984 ₽
157 ₽
269 ₽
918 ₽
273 ₽
299 ₽
Лодочный мотор заводится, но глохнет на холостых? Разбираем пошаговый алгоритм диагностики: от топливной системы и зажигания до регулировки холостого хода и типичных болезней моторов Mercury.
Разбираемся, когда двухтактник реально лучше четырёхтактника, а когда — наоборот. Без маркетинговой воды, с конкретными цифрами по расходу, весу и обслуживанию.
Подробный разбор электросхем лодочных моторов Mercury — от простых 9.9/15 двухтактных до мощных 150-200 четырёхтактных. Цветовая маркировка проводов, система зажигания, зарядки и запуска. Диагностика мультиметром, типичные неисправности и когда пора к электрику.
Контакты
+7 800 555-65-49
Бесплатно по России — нажмите, чтобы позвонить
Написать нам
Перезвоните мне
Оставьте номер — наш эксперт перезвонит и подберёт нужные запчасти
Нажимая кнопку, вы соглашаетесь на обработку персональных данных
Наш эксперт свяжется с вами в ближайшее время
Скидка будет применена к вашему заказу