Распределительный вал/масляный насос — [0G760300 THRU 0T408999] - USA — купить в Victory Marine
Распределительный вал/масляный насос
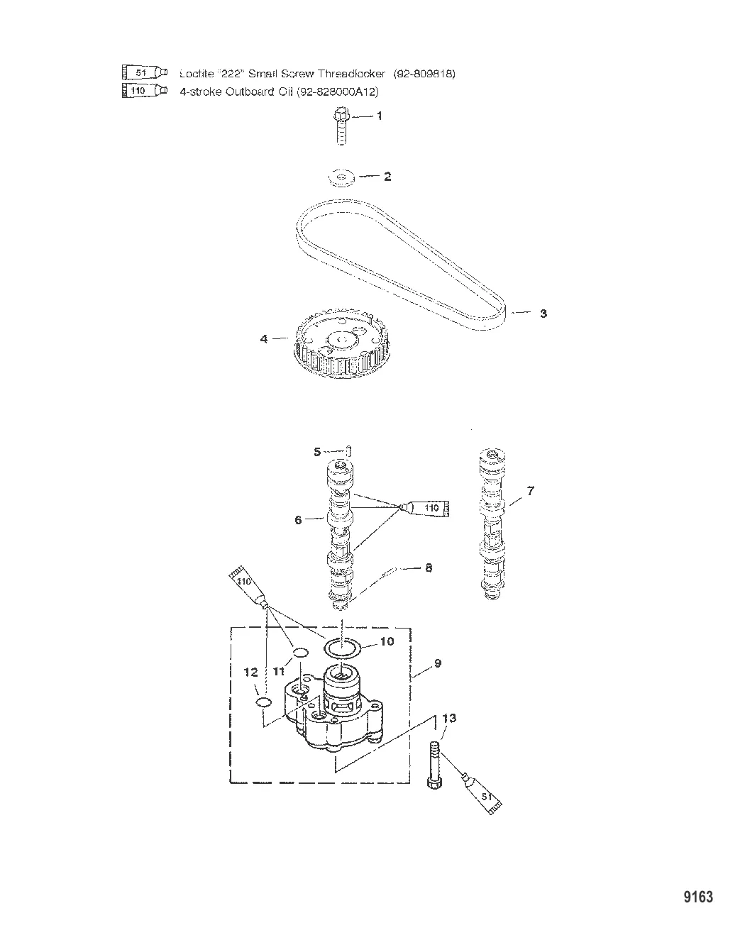
1
2
3
4
5
7
8
9
10
11
12
13

Распределительный вал/масляный насос

522 ₽

2 . ШАЙБА Mercury 4002319

4002219 → 809931072 → 4002319

347 ₽

8 900 ₽

9 953 ₽

110 ₽

34 960 ₽

46 310 ₽

8 . ШТИФТ Mercury 826149

893566 → 826149

183 ₽

Уточняйте

194 ₽

208 ₽

922 ₽

439 ₽

Полезные статьи

Все статьи →
Связаться с нами