РАСПРЕДЕЛИТЕЛЬНЫЙ ВАЛ/МАСЛЯНЫЙ НАСОС — [0H000058 & Up] - USA — купить в Victory Marine
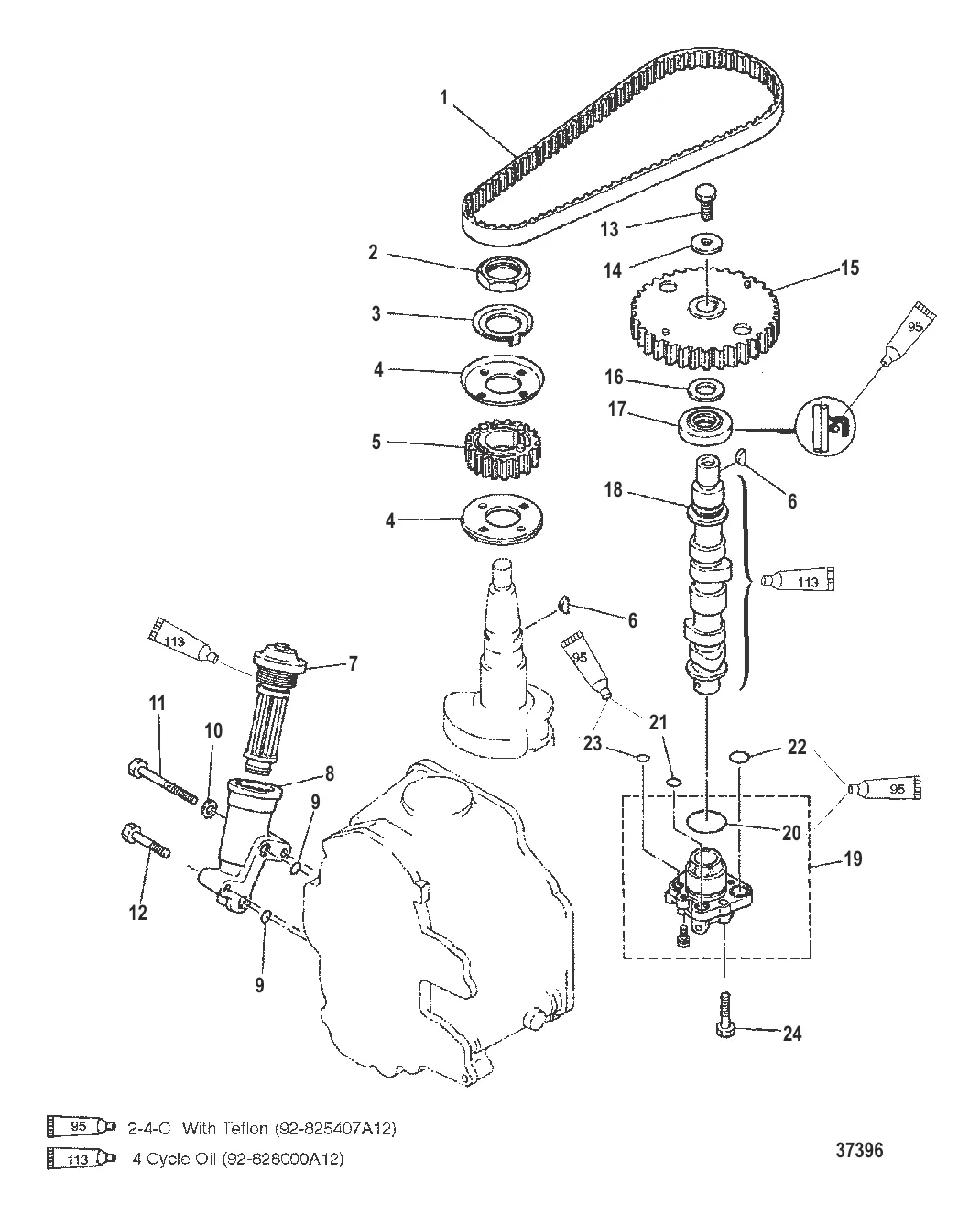
РАСПРЕДЕЛИТЕЛЬНЫЙ ВАЛ/МАСЛЯНЫЙ НАСОС
1
2
3
4
5
6
7
8
10
11
12
13
14
15
16
17
18
19
20
21
22
23
24

РАСПРЕДЕЛИТЕЛЬНЫЙ ВАЛ/МАСЛЯНЫЙ НАСОС

3 788 ₽

Уточняйте

Уточняйте

Уточняйте

Уточняйте

621 ₽

4 179 ₽

Уточняйте

10 . ШАЙБА Mercury 82214M

82199M → 82214M

22 ₽

11 . БОЛТ Mercury 84931M

82430M → 84931M

Уточняйте

361 ₽

13 . БОЛТ Mercury 826957M

91725M → 83395M → 826957M

Уточняйте

128 ₽

8 699 ₽

325 ₽

1 329 ₽

Уточняйте

10 467 ₽

372 ₽

134 ₽

137 ₽

110 ₽

221 ₽

Полезные статьи

Все статьи →
Связаться с нами