Распределительный вал и масляный насос — [0P325500 & Up] - Belgium — купить в Victory Marine
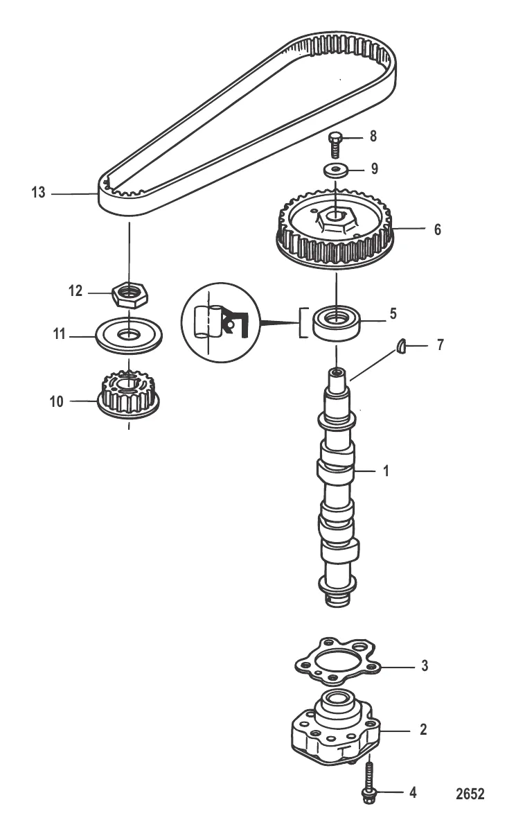
Распределительный вал и масляный насос
2
3
4
5
6
7
8
9
10
11
12
13

Распределительный вал и масляный насос

26 133 ₽

15 427 ₽

631 ₽

4 . Болт 850879001

810755010 → 850879001

152 ₽

875 ₽

11 064 ₽

205 ₽

222 ₽

226 ₽

8 700 ₽

460 ₽

617 ₽

2 526 ₽

Полезные статьи

Все статьи →
Обслуживание и ремонт

Замена масла в поворотно-откидной колонке MerCruiser — инструкция

Пошаговая инструкция по замене масла в поворотно-откидной колонке MerCruiser Alpha One и Bravo. Разбираем сроки замены, выбор масла, инструменты, процедуру и проверку на водяную контаминацию.

1 мин.
Гайды и подбор

Ловля леща на кольцо и яйца с лодки — снасть, монтаж, техника

Разбираем снасть «кольцо» и «яйца» для ловли леща с лодки: монтаж, выбор каши, постановка на якорь и типичные ошибки. Всё, что нужно знать, чтобы вернуться с полным садком.

1 мин.
Гайды и подбор

Права на управление лодкой ГИМС — обучение, экзамен и получение удостоверения

Кому нужны права ГИМС, как проходит обучение и экзамен, какие документы собирать и сколько всё это стоит. Разбираем категории судов, нюансы получения и продления удостоверения судоводителя.

1 мин.
Связаться с нами