РАСПРЕДЕЛИТЕЛЬНАЯ КОРОБКА И ЭЛЕКТРОМАГНИТ СТАРТЕРА — [7208848 & Up] - Canada - Cat.# 90-13290 — купить в Victory Marine
РАСПРЕДЕЛИТЕЛЬНАЯ КОРОБКА И ЭЛЕКТРОМАГНИТ СТАРТЕРА
1
4
7
8
12
14
17
19
21
22
23
24
25

РАСПРЕДЕЛИТЕЛЬНАЯ КОРОБКА И ЭЛЕКТРОМАГНИТ СТАРТЕРА

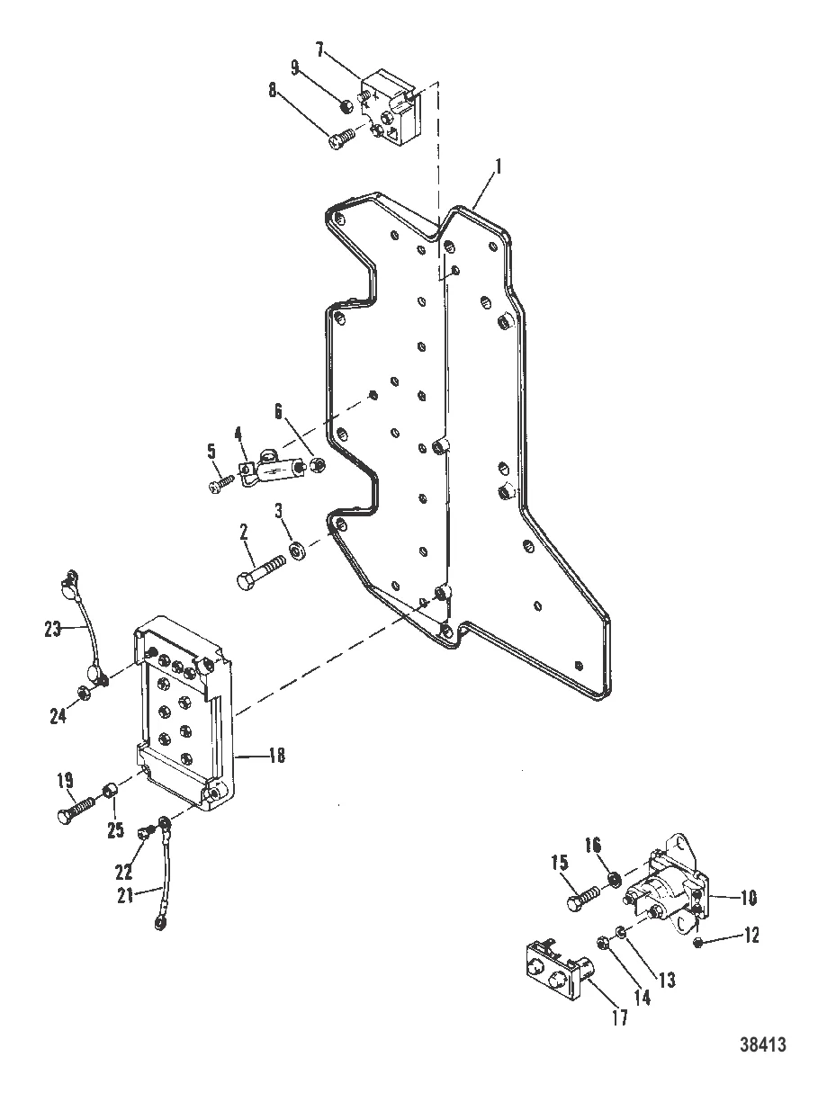
1 . ПЛАСТИНА Mercury 89748T

89748 → 79479 → 89748T

Уточняйте

436 ₽

251 ₽

277 ₽

113 ₽

6 888 ₽

7 . RECTIFIER Mercury 8M0058226

816770T → 8M0058226

13 253 ₽

8 . ВИНТ (0.190-32 x 0.50) Mercury 25764

20512 → 25157 → 20674 → 25764

416 ₽

2 867 ₽

225 ₽

201 ₽

247 ₽

109 ₽

710 ₽

51 394 ₽

Уточняйте

1 509 ₽

144 ₽

380 ₽

201 ₽

5 945 ₽

Полезные статьи

Все статьи →
Связаться с нами