РАСПРЕДЕЛИТЕЛЬ И ЗАЖИГАНИЕ — [1G300000 THRU 1G399999] — купить в Victory Marine
РАСПРЕДЕЛИТЕЛЬ И ЗАЖИГАНИЕ
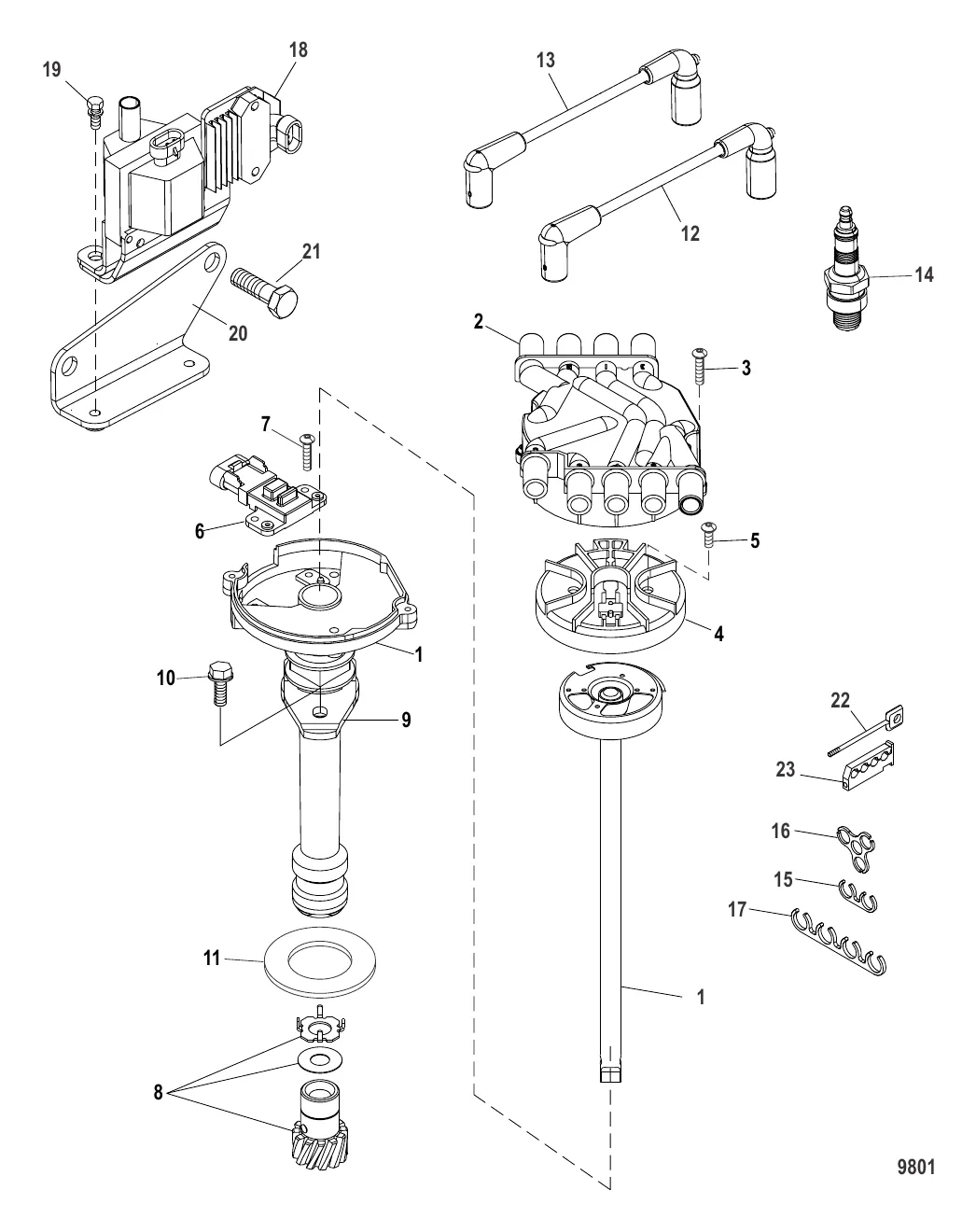
3
5
7
9
13
15
16
17
20
21
23

РАСПРЕДЕЛИТЕЛЬ И ЗАЖИГАНИЕ

181 227 ₽

4 600 ₽

678 ₽

3 300 ₽

1 053 ₽

Уточняйте

9 . ЗАЖИМ Mercury 88731

52185 → 35369 → 88731

1 183 ₽

236 ₽

700 ₽

23 990 ₽

7 880 ₽

2 700 ₽

711 ₽

552 ₽

406 ₽

75 898 ₽

223 ₽

1 913 ₽

5 492 ₽

152 ₽

1 978 ₽

699 ₽

Полезные статьи

Все статьи →
Гайды и подбор

Как правильно перевозить лодочный мотор в машине — 2Т и 4Т

Правила транспортировки двухтактных и четырёхтактных лодочных моторов в автомобиле. Почему положение при перевозке критически важно, как подготовить топливную систему и чем грозят ошибки — разбираем на примерах Mercury.

1 мин.
Обслуживание и ремонт

Лодочный мотор не заводится — причины и пошаговая диагностика

Мотор молчит? Разбираем по шагам: искра, топливо, компрессия. Типичные причины отказа запуска по сезонам и что можно починить прямо на воде своими руками.

1 мин.
Сравнения и обзоры

Рейтинг лодочных моторов 2026 — какой выбрать

Честный рейтинг лодочных моторов 2026 года — от портативных 3.5 л.с. до мощных 400-сильных Verado. Сравниваем Mercury, Tohatsu и другие бренды по надёжности, стоимости владения, весу и расходу топлива. Лучшие моторы для рыбалки, семейного катера и бюджетного варианта.

2 мин.
Связаться с нами