РАСПРЕДЕЛИТЕЛЬ И КОМПОНЕНТЫ СИСТЕМЫ ЗАЖИГАНИЯ — 1992-1994 [0D805069 THRU 0F304999] — купить в Victory Marine
РАСПРЕДЕЛИТЕЛЬ И КОМПОНЕНТЫ СИСТЕМЫ ЗАЖИГАНИЯ
3
4
7
8
9
10
11
12
14
15
19
20
21
23
24
25
26
27
29

РАСПРЕДЕЛИТЕЛЬ И КОМПОНЕНТЫ СИСТЕМЫ ЗАЖИГАНИЯ

89 333 ₽

9 800 ₽

121 ₽

728 ₽

2 300 ₽

16 000 ₽

Уточняйте

228 ₽

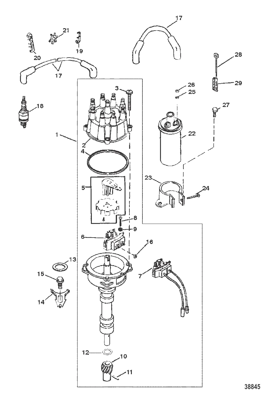
10 . GEAR Mercury 8M0115498

8M0079425 → 8M0115498

13 270 ₽

434 ₽

157 ₽

700 ₽

14 . ЗАЖИМ Mercury 88731

52185 → 35369 → 88731

1 183 ₽

715 ₽

17 . жгут проводов-зажигание Mercury 816608Q61

816608A61 → 816761A15 → 816761A2 → 813720A2 → 43376A2 → 42841A5 → 816608Q61

14 109 ₽

1 100 ₽

711 ₽

552 ₽

406 ₽

19 000 ₽

Уточняйте

1 697 ₽

344 ₽

25 . Шайба 26996

20040 → 26996

140 ₽

26 . Гайка 68219

20645 → 33252 → 68219

72 ₽

152 ₽

1 961 ₽

1 978 ₽

699 ₽

Полезные статьи

Все статьи →
Связаться с нами