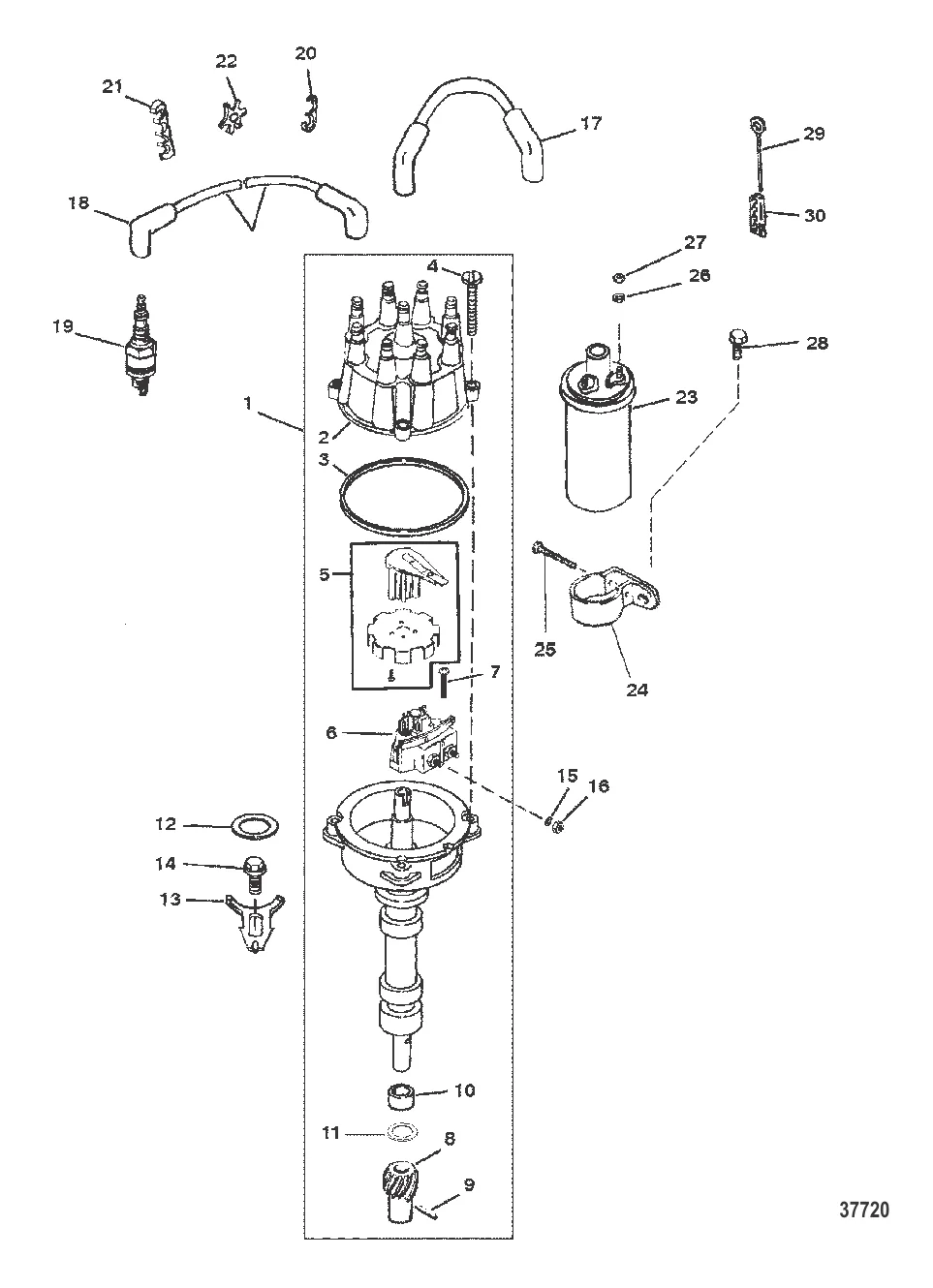
РАСПРЕДЕЛИТЕЛЬ И КОМПОНЕНТЫ СИСТЕМЫ ЗАЖИГАНИЯ — 1988-1995 [0B773740 THRU 0F600999] - Cat.# 90-816596 — купить в Victory Marine
РАСПРЕДЕЛИТЕЛЬ И КОМПОНЕНТЫ СИСТЕМЫ ЗАЖИГАНИЯ
3
4
6
7
8
9
10
11
13
14
16
20
21
22
24
25
27
28
30

РАСПРЕДЕЛИТЕЛЬ И КОМПОНЕНТЫ СИСТЕМЫ ЗАЖИГАНИЯ

89 333 ₽

9 800 ₽

728 ₽

121 ₽

2 300 ₽

16 000 ₽

205 ₽

348 ₽

8 . GEAR Mercury 8M0115498

8M0079425 → 8M0115498

13 270 ₽

434 ₽

1 311 ₽

157 ₽

700 ₽

13 . ЗАЖИМ Mercury 88731

52185 → 35369 → 88731

1 183 ₽

715 ₽

16 . Гайка 68219

20645 → 33252 → 68219

72 ₽

14 700 ₽

12 552 ₽

862 ₽

1 100 ₽

711 ₽

552 ₽

406 ₽

19 000 ₽

Уточняйте

1 697 ₽

344 ₽

244 ₽

27 . Шайба 26996

20040 → 26996

140 ₽

152 ₽

1 978 ₽

699 ₽

Полезные статьи

Все статьи →
Связаться с нами