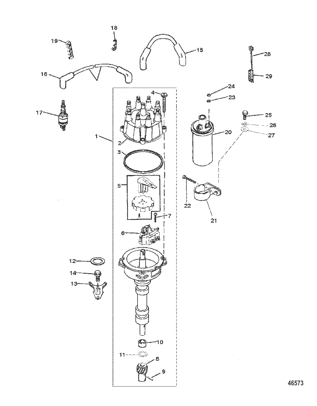
РАСПРЕДЕЛИТЕЛЬ И КОМПОНЕНТЫ СИСТЕМЫ ЗАЖИГАНИЯ — 1996 [0F622100 THRU 0F622150] — купить в Victory Marine
РАСПРЕДЕЛИТЕЛЬ И КОМПОНЕНТЫ СИСТЕМЫ ЗАЖИГАНИЯ
3
4
6
7
8
9
10
11
13
14
18
19
21
22
24
25
26
27
29

РАСПРЕДЕЛИТЕЛЬ И КОМПОНЕНТЫ СИСТЕМЫ ЗАЖИГАНИЯ

89 333 ₽

9 800 ₽

728 ₽

121 ₽

2 300 ₽

16 000 ₽

205 ₽

348 ₽

8 . GEAR Mercury 8M0115498

8M0079425 → 8M0115498

13 270 ₽

434 ₽

1 311 ₽

157 ₽

700 ₽

13 . ЗАЖИМ Mercury 88731

52185 → 35369 → 88731

1 183 ₽

715 ₽

12 552 ₽

862 ₽

1 100 ₽

711 ₽

552 ₽

19 000 ₽

1 697 ₽

344 ₽

24 . Гайка 68219

20645 → 33252 → 68219

72 ₽

152 ₽

26 . Шайба 26996

20040 → 26996

140 ₽

27 . Шайба 20084

46680 → 20084

401 ₽

1 978 ₽

699 ₽

Полезные статьи

Все статьи →
Связаться с нами