Распределитель и компоненты системы зажигания — [All & Up] — купить в Victory Marine
Распределитель и компоненты системы зажигания
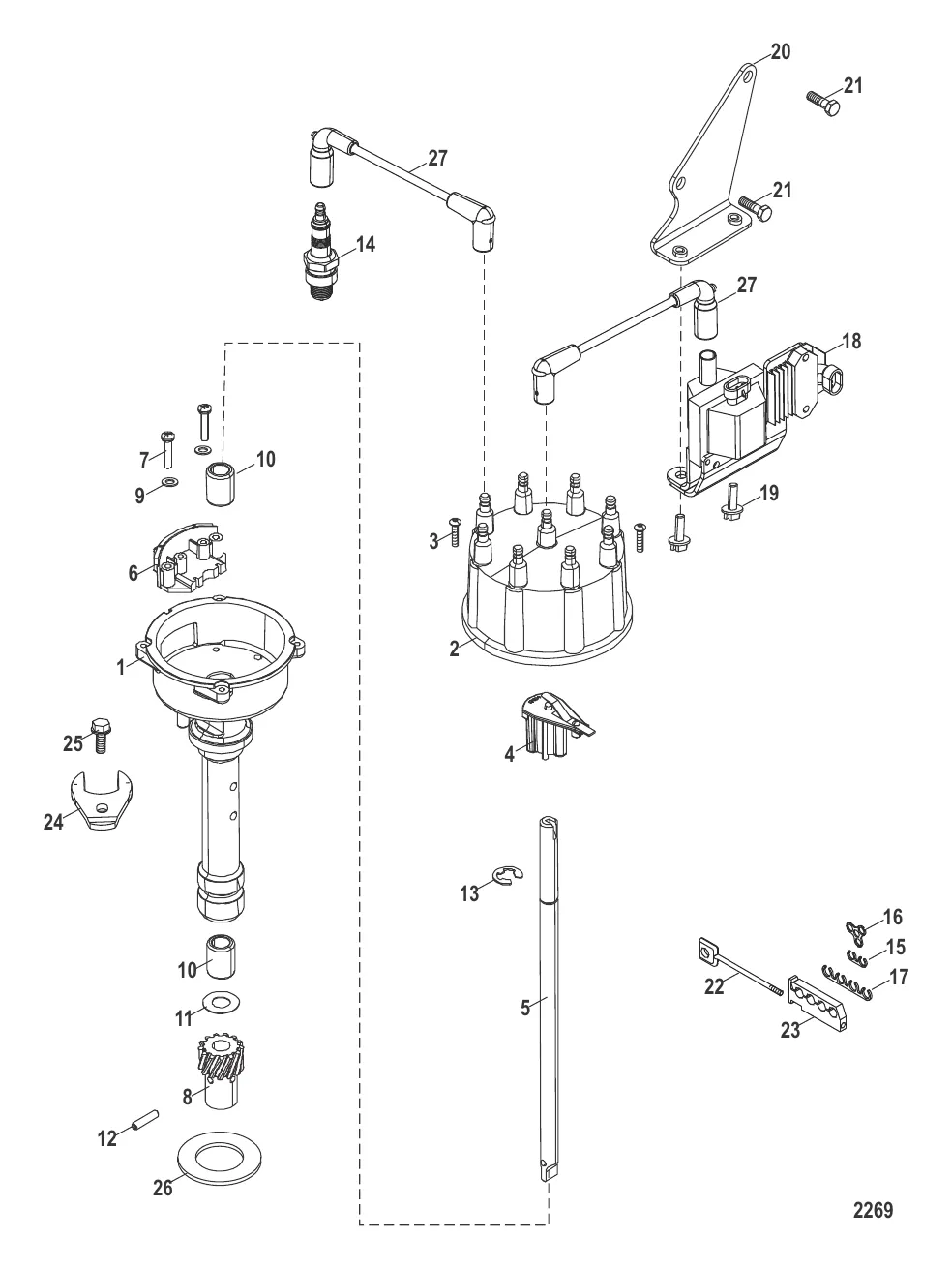
3
4
5
6
7
8
9
10
11
12
13
15
16
17
19
20
21
23
24
27

Распределитель и компоненты системы зажигания

51 459 ₽

9 800 ₽

121 ₽

3 100 ₽

6 265 ₽

854 ₽

205 ₽

8 . GEAR Mercury 8M0115498

8M0079425 → 8M0115498

13 270 ₽

86 ₽

1 311 ₽

157 ₽

434 ₽

103 ₽

2 700 ₽

711 ₽

552 ₽

406 ₽

75 898 ₽

301 ₽

3 876 ₽

152 ₽

1 978 ₽

699 ₽

24 . ЗАЖИМ Mercury 88731

52185 → 35369 → 88731

1 183 ₽

236 ₽

700 ₽

24 110 ₽

Полезные статьи

Все статьи →
Связаться с нами