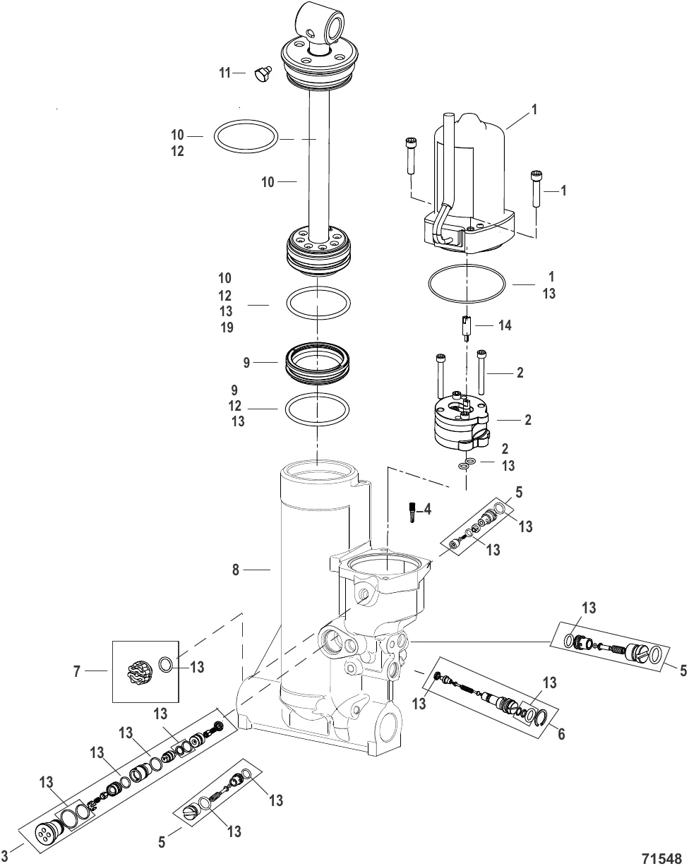
Power Trim Assembly Components - 3B020121 and Up
100 442 ₽
16 447 ₽
4 023 ₽
19 792 ₽
3 939 ₽
Уточняйте
6 461 ₽
68 491 ₽
1 439 ₽
3 611 ₽
8 298 ₽
5 111 ₽
100 442 ₽
16 447 ₽
4 023 ₽
19 792 ₽
3 939 ₽
Уточняйте
6 461 ₽
68 491 ₽
1 439 ₽
3 611 ₽
8 298 ₽
5 111 ₽
Оставьте номер — наш эксперт перезвонит и подберёт нужные запчасти
Нажимая кнопку, вы соглашаетесь на обработку персональных данных
Наш эксперт свяжется с вами в ближайшее время
Скидка будет применена к вашему заказу