Пластина катушки — [1B417702 THRU 1B504988] - USA — купить в Victory Marine
Пластина катушки
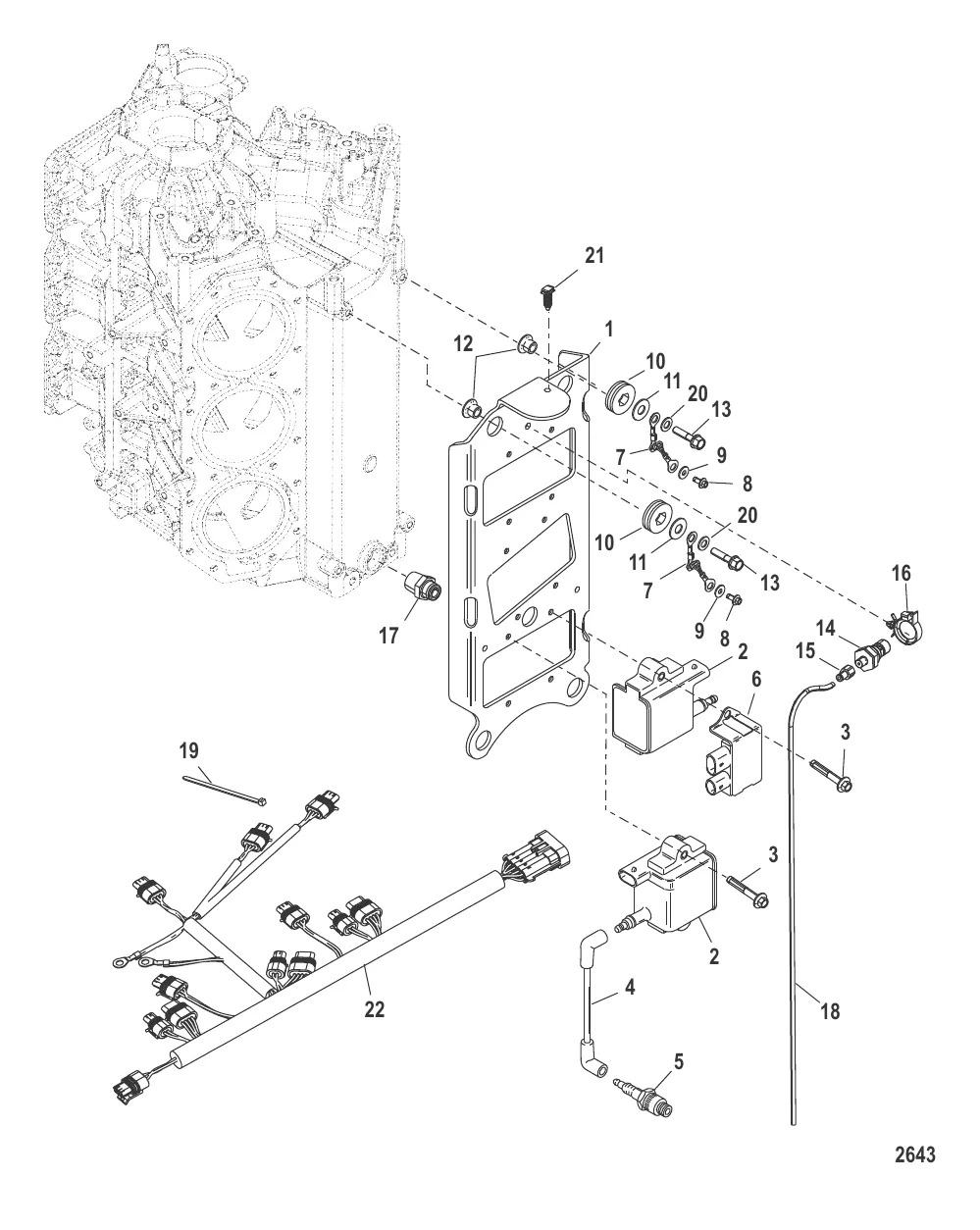
1
2
3
6
7
8
10
11
12
13
14
15
16
17
19
20
21
22

Пластина катушки

1 . ПЛАСТИНА Mercury 850295T4

850295T3 → 8502953 → 8502952 → 850295T4

12 286 ₽

23 971 ₽

605 ₽

4 500 ₽

3 213 ₽

41 955 ₽

3 100 ₽

265 ₽

113 ₽

583 ₽

563 ₽

426 ₽

540 ₽

25 000 ₽

Уточняйте

266 ₽

868 ₽

7 685 ₽

208 ₽

144 ₽

21 . ЗАЖИМ Mercury 828991T

828991 → 828991T

662 ₽

24 714 ₽

Полезные статьи

Все статьи →
Связаться с нами