Пластина электромагнита дифферента (0G205106 и ниже) — [0D935000 THRU 0G610079] - Belgium — купить в Victory Marine
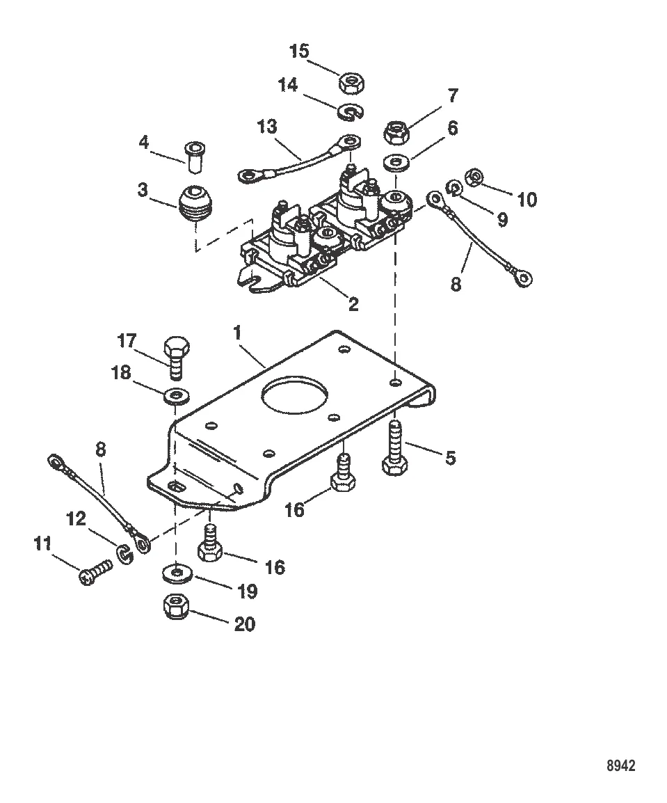
Пластина электромагнита дифферента (0G205106 и ниже)
1
2
3
4
5
8
10
11
12
13
15

Пластина электромагнита дифферента (0G205106 и ниже)

5 026 ₽

2 . соленойдD ASSY Mercury 818997T1

818997A1 → 818997A2 → 818997T1

6 875 ₽

392 ₽

140 ₽

277 ₽

226 ₽

Уточняйте

845 ₽

136 ₽

225 ₽

239 ₽

12 . Шайба 26996

20040 → 26996

140 ₽

229 ₽

109 ₽

201 ₽

228 ₽

269 ₽

258 ₽

375 ₽

363 ₽

Полезные статьи

Все статьи →
Связаться с нами