Пластина аттенюатора — [0P017000 THRU 0P325499] - Belgium — купить в Victory Marine
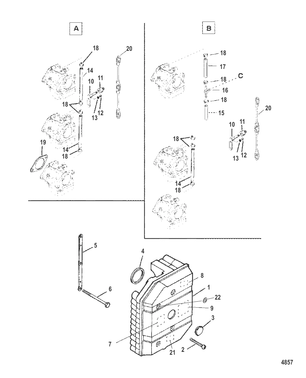
Пластина аттенюатора
1
2
3
4
5
6
10
11
12
13
16
18
19
20
21

Пластина аттенюатора

11 201 ₽

410 ₽

261 ₽

217 ₽

3 343 ₽

446 ₽

3 883 ₽

934 ₽

152 ₽

146 ₽

1 960 ₽

3 874 ₽

45 ₽

416 ₽

20 . LINK Mercury 825204T03

8252043 → 825204T03

4 148 ₽

Уточняйте

258 ₽

Полезные статьи

Все статьи →
Связаться с нами