Пластина аттенюатора — [0G590000 THRU 0G760299] - USA — купить в Victory Marine
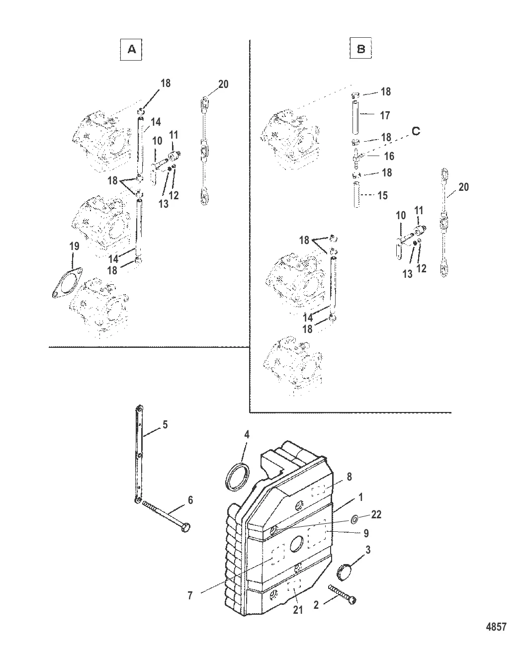
Пластина аттенюатора
1
2
3
4
5
6
10
11
12
13
16
18
19
20
21

Пластина аттенюатора

11 201 ₽

410 ₽

261 ₽

217 ₽

3 343 ₽

446 ₽

3 883 ₽

934 ₽

152 ₽

146 ₽

1 960 ₽

3 874 ₽

45 ₽

416 ₽

20 . LINK Mercury 825204T03

8252043 → 825204T03

4 148 ₽

Уточняйте

258 ₽

Полезные статьи

Все статьи →
Обслуживание и ремонт

Покраска днища катера — антифоулинг, грунт, подготовка

Рассказываем, как правильно покрасить днище катера антифоулинговой краской. Подготовка поверхности, выбор грунта и краски, технология нанесения и типичные ошибки.

1 мин.
Обслуживание и ремонт

Электросхема лодочного мотора Mercury: популярные модели

Подробный разбор электросхем лодочных моторов Mercury — от простых 9.9/15 двухтактных до мощных 150-200 четырёхтактных. Цветовая маркировка проводов, система зажигания, зарядки и запуска. Диагностика мультиметром, типичные неисправности и когда пора к электрику.

3 мин.
Гайды и подбор

Рыбалка в Карелии с лодки — ТОП водоёмов, виды рыб, советы

Карелия — рай для рыбака с лодкой: тысячи озёр, чистейшая вода и трофейная рыба. Разбираем лучшие водоёмы, видовой состав, выбор мотора и всё, что нужно знать перед поездкой.

1 мин.
Связаться с нами