Популярные города
Товаров не найдено, но мы можем привезти под заказ
Нет аккаунта?
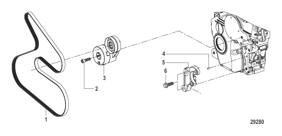
Ремень приводной Mercruiser CMD QSD 4.2 EL 270-350 898101579
898101579
БОЛТ (M12 x 70) Mercury 898101522
896332054 → 898101522
натяжитель Mercury 8M0111642
898101425 → 8M0111642
ШТИФТ Mercury 898101539
898101539
КРОНШТЕЙН Mercury 898101432
898101432
ВИНТ Mercury 898101570
898101570
5 008 ₽
388 ₽
70 215 ₽
221 ₽
18 674 ₽
322 ₽
Разбираемся, когда гидрокрыло реально помогает выйти на глисс, а когда это лишняя трата денег. Тест на Mercury 9.9 + Ривьера 340, обзор моделей SE Sport и StingRay, пошаговая установка.
Полный гайд по спиннинговой ловле щуки с лодки: лучшие приманки по сезонам, техника проводки, выбор мест и типичные ошибки. Практические советы от опытных рыболовов.
Честное сравнение китайских и японских лодочных моторов. Разбираем Hidea, Parsun, Reef Rider — что внутри, как с запчастями, перепродажей и реальным ресурсом.
Контакты
+7 800 555-65-49
Бесплатно по России — нажмите, чтобы позвонить
Написать нам
Перезвоните мне
Оставьте номер — наш эксперт перезвонит и подберёт нужные запчасти
Нажимая кнопку, вы соглашаетесь на обработку персональных данных
Наш эксперт свяжется с вами в ближайшее время
Скидка будет применена к вашему заказу