Передаточный вал и тяга газа — 120 (ВОДОМЕТНЫЙ ПРИВОД) — купить в Victory Marine
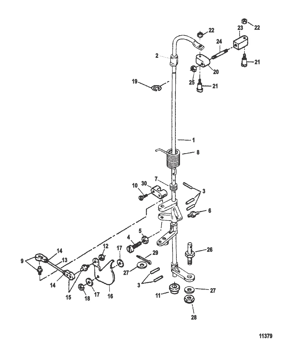
Передаточный вал и тяга газа
2
3
4
5
6
7
8
10
11
12
13
14
15
16
17
18
19
20
21
22
24
26
29
30

Передаточный вал и тяга газа

Уточняйте

2 . ВТУЛКА Mercury 819513

F491689-1 → 819513

Уточняйте

3 . ШТИФТ Ролик Mercury 38489

F8540 → F8506 → 38489

646 ₽

284 ₽

5 . ГАЙКА (0.250-20) Mercury 64015

F1341 → F15051 → 64015

266 ₽

Уточняйте

Уточняйте

Уточняйте

Уточняйте

Уточняйте

201 ₽

2 728 ₽

14 . Гайка 68219

20645 → 33252 → 68219

72 ₽

2 473 ₽

Уточняйте

Уточняйте

224 ₽

131 ₽

1 709 ₽

477 ₽

343 ₽

2 282 ₽

6 785 ₽

284 ₽

Уточняйте

113 ₽

Уточняйте

467 ₽

Уточняйте

Полезные статьи

Все статьи →
Связаться с нами