Охладитель нагнетаемого воздуха/впускной коллектор — [1B227000 THRU 1B381711] - USA — купить в Victory Marine
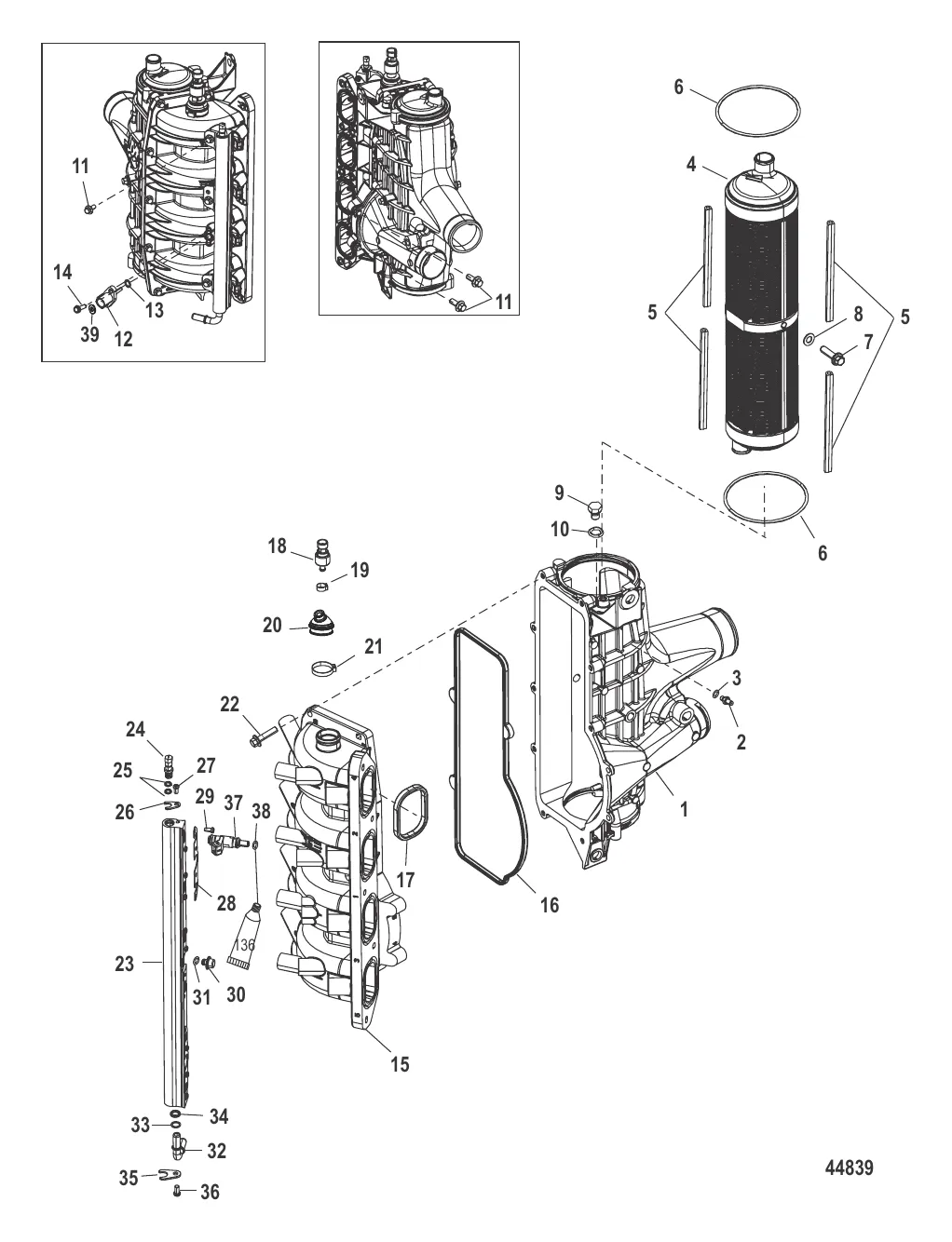
Охладитель нагнетаемого воздуха/впускной коллектор
1
10
11
14
16
17
18
19
20
24
25
26
28
30
33
34
35
36
39

Охладитель нагнетаемого воздуха/впускной коллектор

1 . CAC ASSEMBLY Mercury 8M0132387

8M0092461 → 8M0132387

498 869 ₽

1 115 ₽

Уточняйте

630 ₽

56 606 ₽

3 529 ₽

634 ₽

44 696 ₽

18 885 ₽

9 558 ₽

18 . ДАТЧИК Mercury 8M6000639

8M0010248 → 8M6000639

29 837 ₽

149 ₽

20 . ЧЕХОЛ Mercury 892952500

895021 → 892952500

1 374 ₽

600 ₽

369 ₽

12 776 ₽

2 931 ₽

254 ₽

340 ₽

398 ₽

7 492 ₽

2 405 ₽

58 ₽

281 ₽

554 ₽

184 ₽

30 000 ₽

1 500 ₽

124 ₽

Полезные статьи

Все статьи →
Связаться с нами