Нижний кожух — [1991E THRU 1992C] - USA — купить в Victory Marine
Нижний кожух
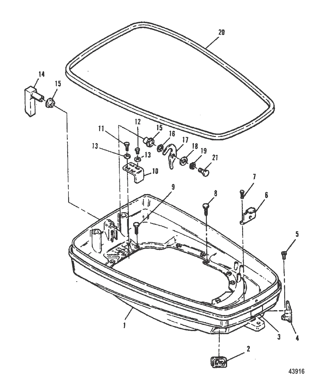
1
2
4
5
6
8
9
10
11
12
13
15
16
17
20
21

Нижний кожух

1 . PLATE-SUPPORT Mercury 817606T

817606F → 817606 → F663038-1 → 817606T

40 607 ₽

2 . ВТУЛКА Mercury 8190062

8190061 → 8190062

Уточняйте

Уточняйте

4 . ВТУЛКА Mercury 828763

F549189-2 → 828763

Уточняйте

208 ₽

Уточняйте

247 ₽

140 ₽

161 ₽

Уточняйте

304 ₽

Уточняйте

223 ₽

14 . Ручка ASY-BLACK Mercury 820000A08

820000A7 → 820000A4 → FA663469 → 820000A08

4 925 ₽

1 051 ₽

226 ₽

6 313 ₽

46 ₽

109 ₽

20 . PACKING-81 INCH Mercury 8197172

F663756-1 → 8197172

Уточняйте

594 ₽

Полезные статьи

Все статьи →
Связаться с нами