Нижний блок в сборе (54# – переменная) (MCC397022) — [9B000001 & Up] — купить в Victory Marine
Нижний блок в сборе (54# – переменная) (MCC397022)
5
22
24
25
26
30

Нижний блок в сборе (54# – переменная) (MCC397022)

2 430 ₽

3 101 ₽

318 ₽

191 ₽

14 116 ₽

353 ₽

3 236 ₽

3 086 ₽

909 ₽

1 177 ₽

41 604 ₽

616 ₽

323 ₽

459 ₽

14 157 ₽

326 ₽

1 187 ₽

365 ₽

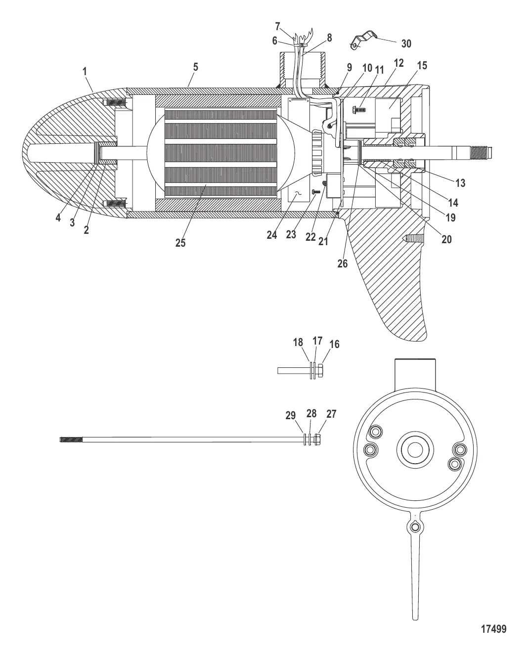
25 . ЯКОРЬ Mercury M899400T

MCF320722 → M899400T

9 457 ₽

334 ₽

583 ₽

342 ₽

173 ₽

603 ₽

Полезные статьи

Все статьи →
Связаться с нами