Нижний блок в сборе (30# – с регулировкой скорости до 5/2) (MHM397062) — [9B000001 & Up] — купить в Victory Marine
Нижний блок в сборе (30# – с регулировкой скорости до 5/2) (MHM397062)
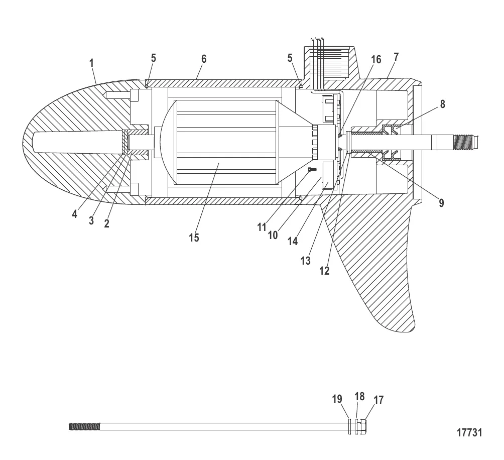
6
7
8
10
14
15
16
17

Нижний блок в сборе (30# – с регулировкой скорости до 5/2) (MHM397062)

2 078 ₽

3 101 ₽

318 ₽

191 ₽

136 ₽

2 840 ₽

7 . COMM CAP ASSY Mercury M899421T

MFF320532 → M899421T

6 622 ₽

909 ₽

1 177 ₽

10 . BRUSH CARD ASSY Mercury M899420T

MHF320112 → M899420T

2 852 ₽

141 ₽

459 ₽

323 ₽

61 ₽

15 . ARMATURE Mercury M899565T

MHM320712 → M899565T

6 650 ₽

334 ₽

977 ₽

342 ₽

173 ₽

Полезные статьи

Все статьи →
Связаться с нами