Нижний блок в сборе (109# – переменная) (MXC397052) — [9B189787 & Up] — купить в Victory Marine
Нижний блок в сборе (109# – переменная) (MXC397052)
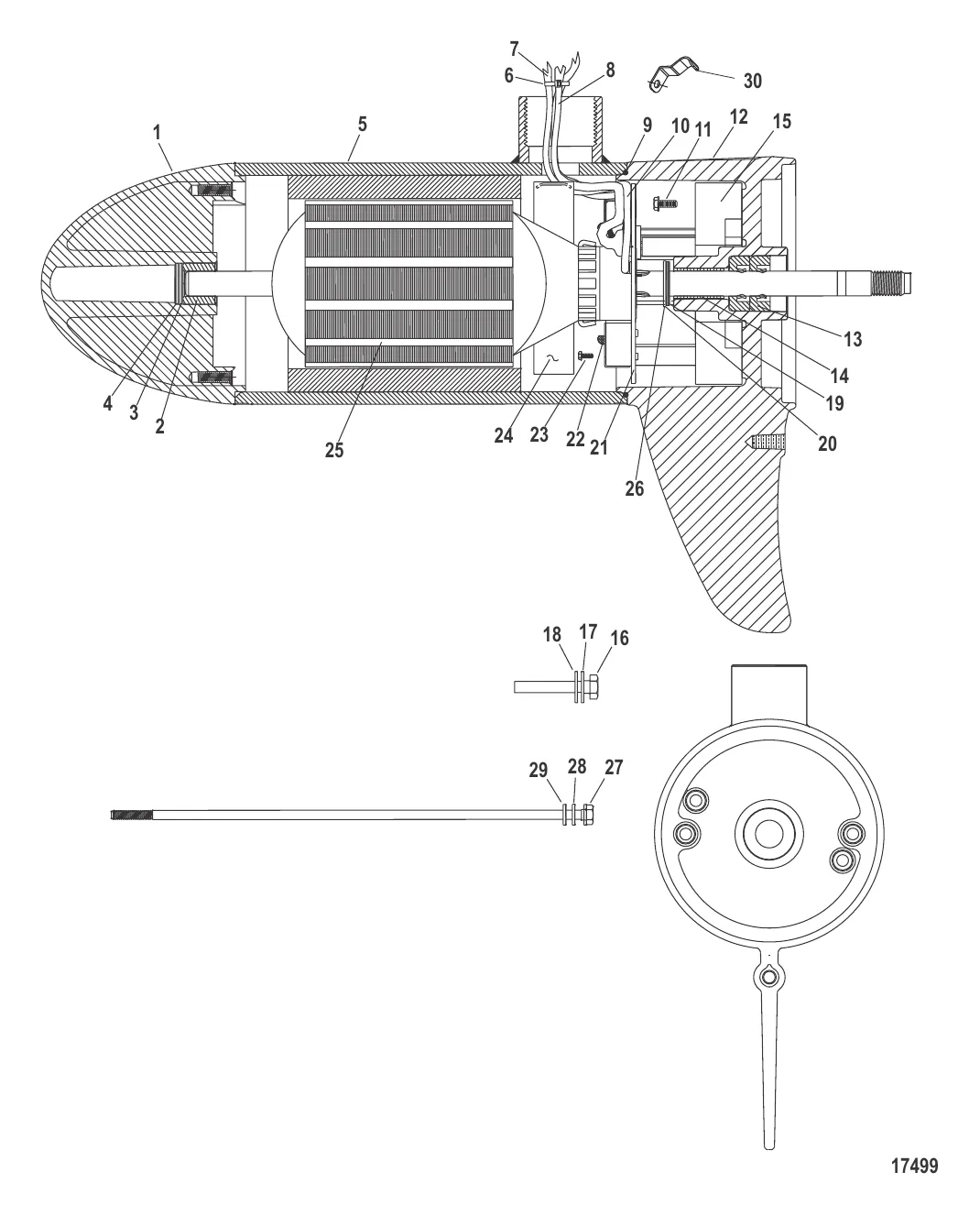
5
6
7
8
13
22
24
25
26
27

Нижний блок в сборе (109# – переменная) (MXC397052)

2 430 ₽

3 101 ₽

318 ₽

191 ₽

5 . 105 FW MAG HSNG Mercury 8M4002667

879317T96 → 8M4002667

21 534 ₽

353 ₽

7 . WIRE ASSY-BLACK Mercury M899518T

MXC323032 → M899518T

1 800 ₽

8 . WIRE ASSY-RED Mercury M899522T

MXC323042 → M899522T

1 834 ₽

10 837 ₽

909 ₽

1 177 ₽

41 604 ₽

616 ₽

323 ₽

459 ₽

14 157 ₽

326 ₽

1 187 ₽

365 ₽

25 . ЯКОРЬ Mercury M889297T

M899426T → M889297T

12 034 ₽

334 ₽

2 146 ₽

342 ₽

173 ₽

Полезные статьи

Все статьи →
Связаться с нами