НАСОС ДЛЯ ЗАБОРТНОЙ ВОДЫ В СБОРЕ — 1996 [0F820707 THRU 0K040005] - USA — купить в Victory Marine
НАСОС ДЛЯ ЗАБОРТНОЙ ВОДЫ В СБОРЕ
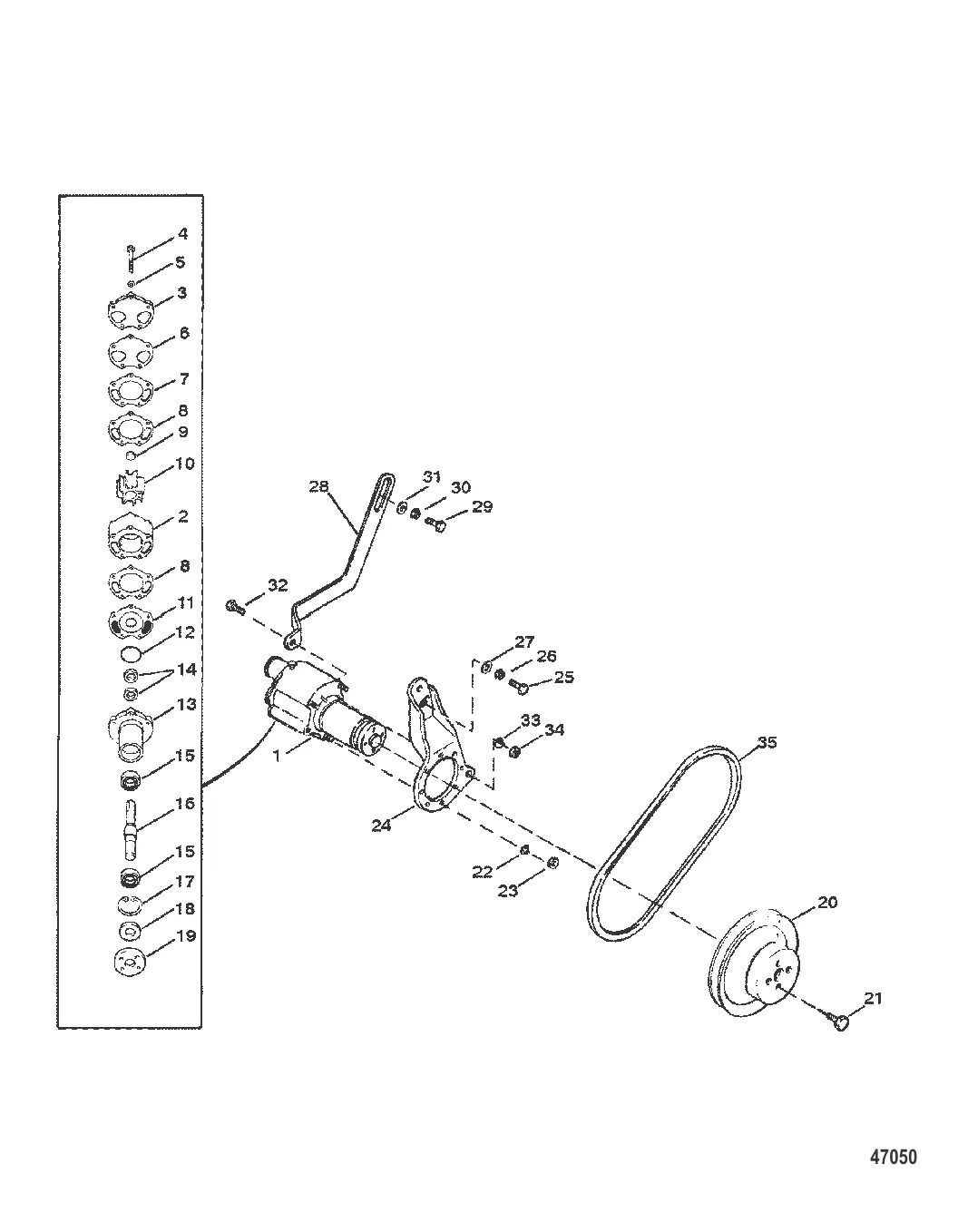
1
3
4
5
6
7
8
9
10
11
12
13
17
19
20
21
22
24
25
28
29
31
32
33
34
35

НАСОС ДЛЯ ЗАБОРТНОЙ ВОДЫ В СБОРЕ

119 849 ₽

Уточняйте

34 844 ₽

420 ₽

2 250 ₽

5 . Шайба 20084

46680 → 20084

401 ₽

6 . ПРОКЛАДКА Mercury 8052151

805215 → 94915 → 72779 → 8052151

967 ₽

3 688 ₽

345 ₽

1 624 ₽

7 035 ₽

2 869 ₽

322 ₽

60 811 ₽

2 900 ₽

3 000 ₽

32 961 ₽

303 ₽

2 816 ₽

10 241 ₽

21 108 ₽

109 ₽

216 ₽

300 ₽

20 975 ₽

258 ₽

9 455 ₽

118 ₽

289 ₽

455 ₽

33 . Шайба 35048

37459 → 27969 → 35048

171 ₽

571 ₽

2 796 ₽

Полезные статьи

Все статьи →
Связаться с нами