НАСОС ДЛЯ ЗАБОРТНОЙ ВОДЫ В СБОРЕ — 350 MAG. MPI SKI GM 350 V-8 — купить в Victory Marine
НАСОС ДЛЯ ЗАБОРТНОЙ ВОДЫ В СБОРЕ
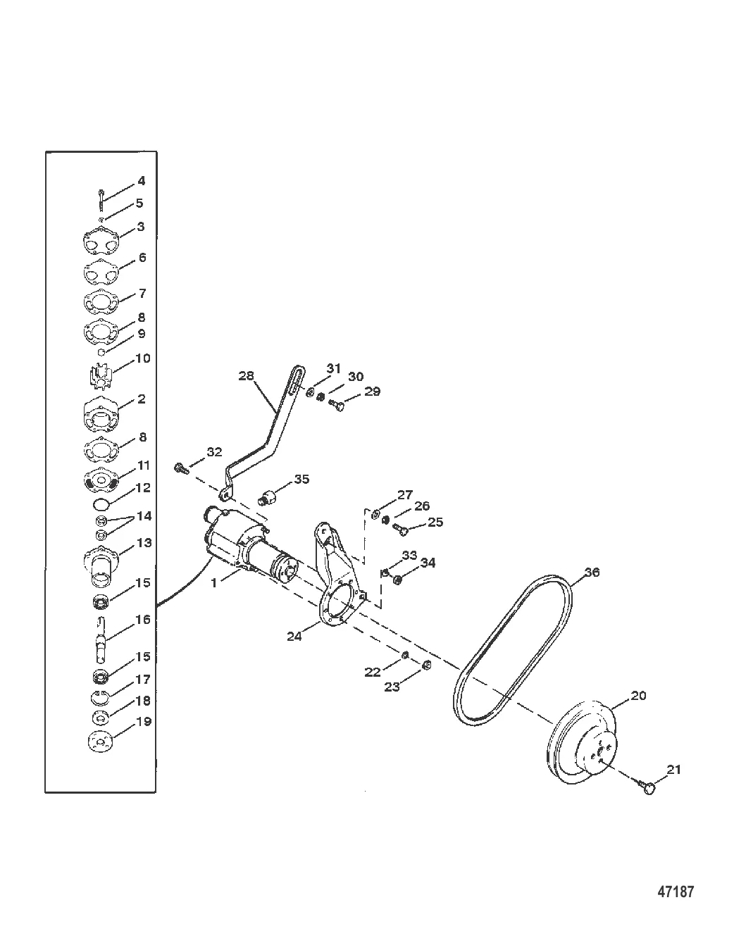
1
3
4
5
8
9
11
12
17
19
20
21
22
24
25
28
29
31
32
33
34

НАСОС ДЛЯ ЗАБОРТНОЙ ВОДЫ В СБОРЕ

119 849 ₽

Уточняйте

34 844 ₽

420 ₽

2 250 ₽

5 . Шайба 20084

46680 → 20084

401 ₽

6 . ПРОКЛАДКА Mercury 8052151

805215 → 94915 → 72779 → 8052151

967 ₽

3 688 ₽

345 ₽

1 624 ₽

2 300 ₽

2 869 ₽

322 ₽

60 811 ₽

2 900 ₽

3 000 ₽

32 961 ₽

303 ₽

2 816 ₽

10 241 ₽

21 108 ₽

109 ₽

216 ₽

300 ₽

20 975 ₽

258 ₽

9 455 ₽

118 ₽

289 ₽

455 ₽

33 . Шайба 35048

37459 → 27969 → 35048

171 ₽

571 ₽

1 000 ₽

2 796 ₽

Полезные статьи

Все статьи →
Обслуживание и ремонт

Белый, синий, чёрный дым из лодочного мотора — о чём говорит цвет выхлопа

Цвет дыма из выхлопа лодочного мотора — первый диагностический сигнал о проблеме. Разбираем, что означает белый, синий и чёрный дым, чем отличается норма от неисправности, и как ведут себя двух- и четырёхтактные моторы.

1 мин.
Гайды и подбор

Чехол и транспортировочный тент для лодочного мотора — зачем нужен и как выбрать

Разбираемся, зачем лодочному мотору чехол, какие бывают — транспортировочные, стояночные, полные — и как подобрать по мощности и марке. Конкретные модели, материалы и цены.

1 мин.
Сравнения и обзоры

Лучшие блёсны на щуку 2026 — колебалки и вертушки: рейтинг и проводка

Рейтинг лучших колебалок и вертушек на щуку 2026 года: Mepps Syclops, Kuusamo Professor, Abu Garcia Atom, Aglia Long, Blue Fox Vibrax. Размеры, цвета, проводки по сезонам. ТОП-10 таблицы с рекомендациями.

2 мин.
Связаться с нами