Насос для впрыска топлива — [0T801000 THRU 1B226999] - USA — купить в Victory Marine
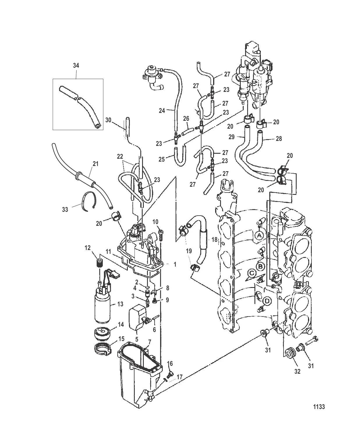
Насос для впрыска топлива
1
2
3
4
5
6
7
8
9
10
11
12
13
14
15
16
17
18
19
20
21
22
23
27
28
29
30
31
32
33
34

Насос для впрыска топлива

1 . КРЫШКА Mercury 881316T2

881316T1 → 881316T2

41 112 ₽

201 ₽

8 789 ₽

Уточняйте

14 918 ₽

248 ₽

Уточняйте

361 ₽

134 ₽

261 ₽

1 951 ₽

1 509 ₽

5 312 ₽

78 979 ₽

7 258 ₽

525 ₽

410 ₽

309 ₽

33 921 ₽

1 208 ₽

1 310 ₽

Уточняйте

1 219 ₽

1 038 ₽

27 . РУКАВ Mercury 881554

881551 → 881554

1 011 ₽

519 ₽

3 796 ₽

2 494 ₽

Уточняйте

534 ₽

214 ₽

7 245 ₽

Полезные статьи

Все статьи →
Связаться с нами