Накладка коллектора — [88050001 THRU 88050643] — купить в Victory Marine
Накладка коллектора
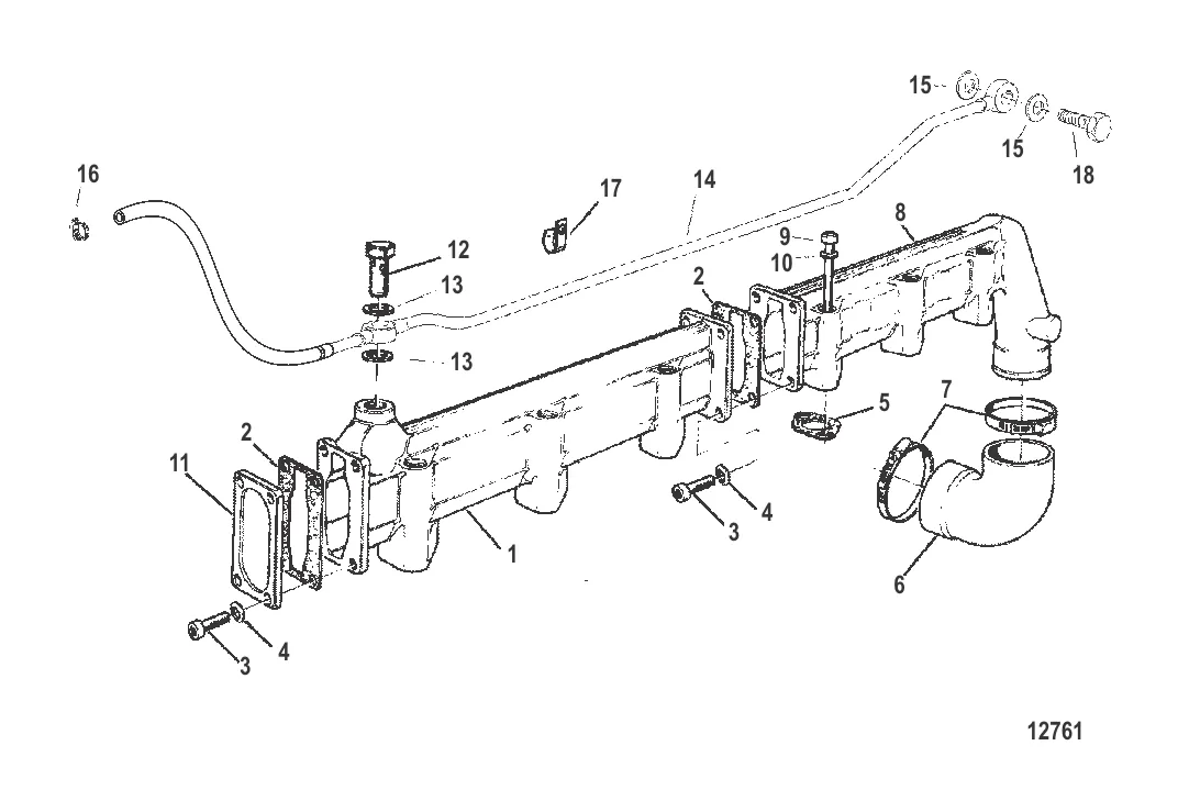
1
2
3
4
5
6
7
8
9
10
11
12
13
14
15
16
17
18

Накладка коллектора

38 316 ₽

212 ₽

3 . ВИНТ Mercury 898101526

809919781 → 898101526

23 ₽

4 . ШАЙБА Mercury 879194114

811450 → 809932062 → 809932071 → 879194114

9 ₽

5 . ПРОКЛАДКА Mercury 884004

854172 → 801331204 → 884004

151 ₽

6 . РУКАВ Mercury 854173

811433 → 854173

3 211 ₽

1 398 ₽

31 930 ₽

9 . ВИНТ Mercury 898101473

879714 → 898101473

103 ₽

73 ₽

3 219 ₽

12 . БОЛТ Mercury 898101750

811401 → 898101750

412 ₽

13 . ШАЙБА Mercury 809963129

801331253 → 809963129

80 ₽

14 . ТРУБА Mercury 804702

854175 → 804702

19 583 ₽

15 . ШАЙБА Mercury 881791

809963072 → 809963073 → 881791

109 ₽

225 ₽

573 ₽

786 ₽

Полезные статьи

Все статьи →
Сравнения и обзоры

НДНД, аирдек или пайол — какое дно лодки ПВХ лучше: сравнение

Разбираем три типа дна лодок ПВХ — НДНД, аирдек и жёсткий пайол. Сравниваем по жёсткости, весу, комфорту и цене, чтобы вы выбрали идеальный вариант для рыбалки, охоты или отдыха.

1 мин.
Гайды и подбор

Безопасность на лодке с детьми — правила, снаряжение, советы

Как безопасно отдыхать на лодке с детьми: требования ГИМС, выбор детского спасательного жилета, правила поведения на борту. Практические советы от опытных судоводителей для семейных поездок на воде.

1 мин.
Обслуживание и ремонт

Ремонт лодки ПВХ своими руками — как заклеить прокол, порез и шов

Подробная инструкция по ремонту лодки ПВХ: выбор клея, заплатки, горячий и холодный метод склейки. Разбираем типичные повреждения и рассказываем, когда можно починить самому, а когда лучше к мастеру.

1 мин.
Связаться с нами