Накладка коллектора — [88050001 THRU 88050643] — купить в Victory Marine
Накладка коллектора
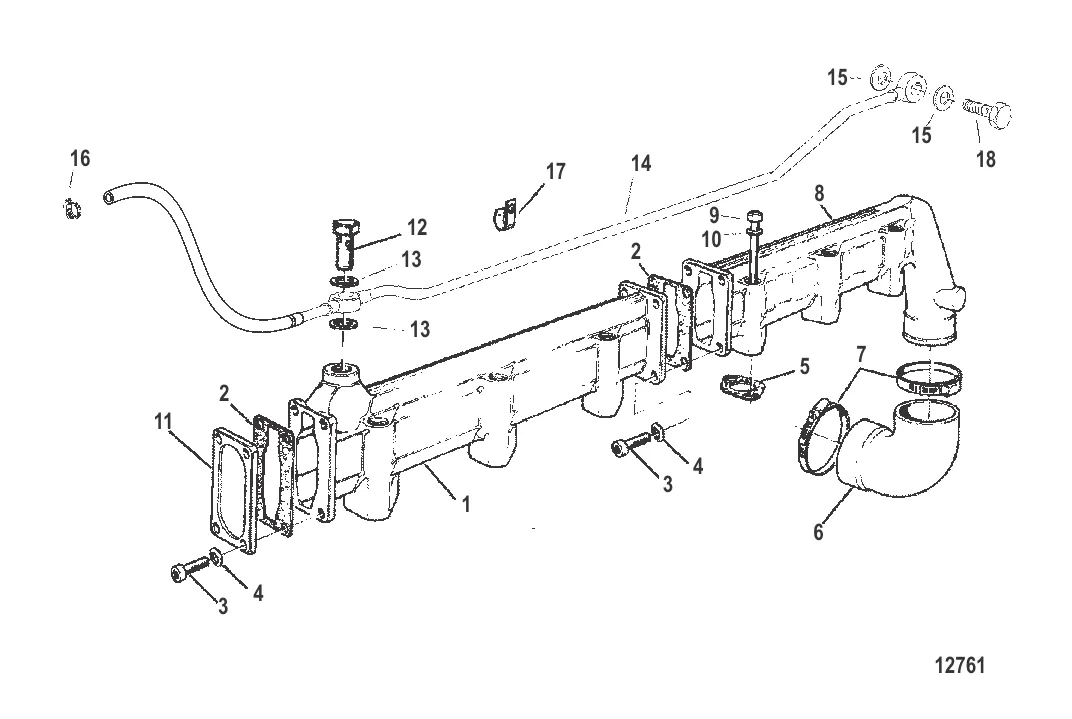
1
2
3
4
5
6
7
8
9
10
11
12
13
14
15
16
17
18

Накладка коллектора

38 316 ₽

212 ₽

3 . ВИНТ Mercury 898101526

809919781 → 898101526

23 ₽

4 . ШАЙБА Mercury 879194114

811450 → 809932062 → 809932071 → 879194114

9 ₽

5 . ПРОКЛАДКА Mercury 884004

854172 → 801331204 → 884004

151 ₽

6 . РУКАВ Mercury 854173

811433 → 854173

3 211 ₽

1 398 ₽

31 930 ₽

9 . ВИНТ Mercury 898101473

879714 → 898101473

103 ₽

73 ₽

3 219 ₽

12 . БОЛТ Mercury 898101750

811401 → 898101750

412 ₽

13 . ШАЙБА Mercury 809963129

801331253 → 809963129

80 ₽

14 . ТРУБА Mercury 804702

854175 → 804702

19 583 ₽

15 . ШАЙБА Mercury 881791

809963072 → 809963073 → 881791

109 ₽

225 ₽

573 ₽

786 ₽

Полезные статьи

Все статьи →
Связаться с нами