МОНТАЖ ТРАНСМИССИИ И ДВИГАТЕЛЯ (BORG WARNER 5000) — 1996-1997 [0F819620 THRU 0K999999] — купить в Victory Marine
МОНТАЖ ТРАНСМИССИИ И ДВИГАТЕЛЯ (BORG WARNER 5000)
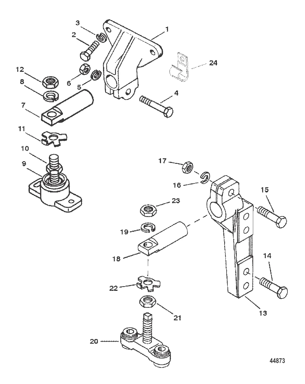
1
3
4
9
13
14
15
16
17
18
19
20
21
22
23
24

МОНТАЖ ТРАНСМИССИИ И ДВИГАТЕЛЯ (BORG WARNER 5000)

52 764 ₽

400 ₽

322 ₽

300 ₽

3 . Шайба 35048

37459 → 27969 → 35048

171 ₽

661 ₽

24 171 ₽

41 109 ₽

41 108 ₽

339 ₽

455 ₽

171 ₽

146 ₽

26 858 ₽

249 ₽

36 229 ₽

976 ₽

536 ₽

740 ₽

594 ₽

Полезные статьи

Все статьи →
Гайды и подбор

Ночная рыбалка с лодки — снаряжение, безопасность и советы

Ночная рыбалка с лодки дарит незабываемые эмоции и трофейные уловы, но требует серьёзной подготовки. Разбираем обязательное снаряжение, правила безопасности и тактику ловли в тёмное время суток.

1 мин.
Гайды и подбор

ППВВП для маломерных судов — навигационные правила простым языком

Правила плавания по внутренним водным путям кажутся сложными только на первый взгляд. Разбираем основные навигационные правила для маломерных судов: приоритет, знаки, скорость, обгон и ночное плавание.

1 мин.
Гайды и подбор

Как пользоваться эхолотом — настройка, чтение экрана, поиск рыбы

Разбираемся, как правильно настроить эхолот и научиться читать его экран. Практические советы по поиску рыбы, структуры дна и использованию GPS-меток.

1 мин.
Связаться с нами