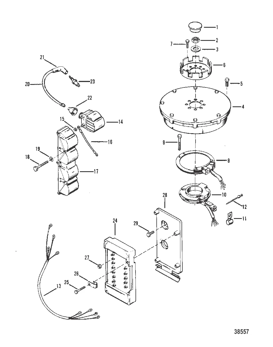
МАХОВИК, КАТУШКА ЗАЖИГАНИЯ И РАСПРЕДЕЛИТЕЛЬНАЯ КОРОБКА — [9248006 THRU 9466691] - Belgium - Cat.# 90-13287 — купить в Victory Marine
МАХОВИК, КАТУШКА ЗАЖИГАНИЯ И РАСПРЕДЕЛИТЕЛЬНАЯ КОРОБКА
1
2
3
5
6
7
8
9
10
11
12
13
16
17
18
20
22
25
26
27
28
29

МАХОВИК, КАТУШКА ЗАЖИГАНИЯ И РАСПРЕДЕЛИТЕЛЬНАЯ КОРОБКА

883 ₽

1 150 ₽

944 ₽

4 . МАХОВИК Mercury 8722A16

8722A11 → 5977A32 → 5977A22 → 5977A19 → 5977A15 → 5977A4 → 8722A16

Уточняйте

4 . МАХОВИК Mercury 8722A17

8722A9 → 5977A23 → 5977A20 → 5977A17 → 5977A2 → 8722A17

81 201 ₽

140 ₽

2 506 ₽

131 ₽

43 656 ₽

88 644 ₽

260 ₽

297 ₽

19 985 ₽

1 069 ₽

171 ₽

1 809 ₽

14 . Катушка зажигания Mercury 15 832757A4

7370A13 → 7370A8 → 7370A2 → 4995A2 → 4995A1 → 4774A1 → 832757A4

14 211 ₽

583 ₽

Уточняйте

124 ₽

Уточняйте

244 ₽

4 314 ₽

862 ₽

22 . BOOT @3 Mercury 2854T01

2854 → 2854T01

431 ₽

Уточняйте

2 400 ₽

77 989 ₽

Уточняйте

332 ₽

201 ₽

Уточняйте

77 ₽

Полезные статьи

Все статьи →
Связаться с нами