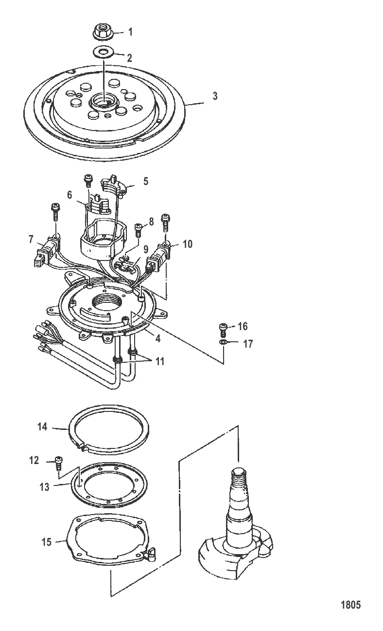
МАХОВИК
390 ₽
84 ₽
Уточняйте
Уточняйте
Уточняйте
Уточняйте
12 218 ₽
Уточняйте
617 ₽
Уточняйте
669 ₽
Уточняйте
Уточняйте
Уточняйте
Уточняйте
Уточняйте
529 ₽
390 ₽
84 ₽
Уточняйте
Уточняйте
Уточняйте
Уточняйте
12 218 ₽
Уточняйте
617 ₽
Уточняйте
669 ₽
Уточняйте
Уточняйте
Уточняйте
Уточняйте
Уточняйте
529 ₽
Оставьте номер — наш эксперт перезвонит и подберёт нужные запчасти
Нажимая кнопку, вы соглашаетесь на обработку персональных данных
Наш эксперт свяжется с вами в ближайшее время
Скидка будет применена к вашему заказу