Маховик — [0P017000 THRU 0P153499] - Belgium — купить в Victory Marine
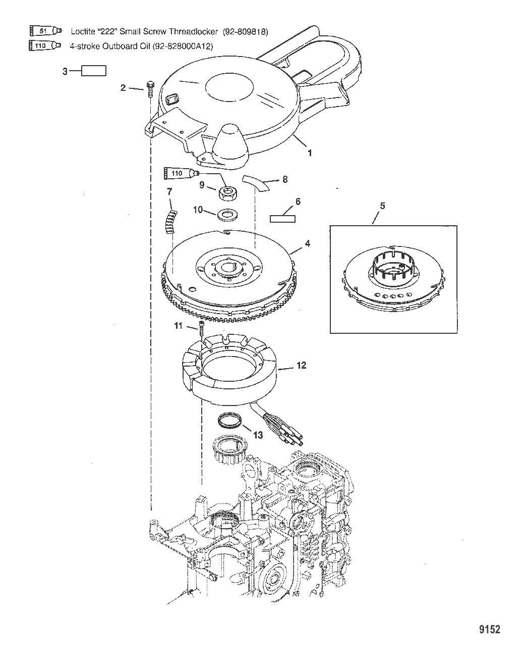
Маховик
1
2
5
8
9
10
11
12
13

Маховик

24 846 ₽

221 ₽

2 234 ₽

2 232 ₽

2 399 ₽

4 . Маховик ASY Mercury 832010T32

832010T31 → 832010T26 → 832010T14 → 832010A8 → 832010T32

110 198 ₽

5 . МАХОВИК Mercury 832010T27

832010T16 → 832010A4 → 832010T27

100 406 ₽

Уточняйте

9 . ГАЙКА Mercury 893789

81773M → 893789

1 071 ₽

438 ₽

113 ₽

298 ₽

33 674 ₽

39 482 ₽

60 532 ₽

76 682 ₽

5 568 ₽

Полезные статьи

Все статьи →
Обслуживание и ремонт

Ремкомплекты водяной помпы Mercury — состав, артикулы и замена

Разбираем ремкомплекты водяной помпы Mercury: что входит в комплект, артикулы для популярных моторов и пошаговый обзор процесса замены.

1 мин.
Обслуживание и ремонт

Электросхема лодочного мотора Mercury: популярные модели

Подробный разбор электросхем лодочных моторов Mercury — от простых 9.9/15 двухтактных до мощных 150-200 четырёхтактных. Цветовая маркировка проводов, система зажигания, зарядки и запуска. Диагностика мультиметром, типичные неисправности и когда пора к электрику.

3 мин.
Гайды и подбор

Оптовые поставки запчастей Mercury — как это работает у нас

Рассказываем, как устроена наша оптовая программа: кому подойдёт, что входит в условия и как получить доступ к специальным ценам на запчасти Mercury, MerCruiser и Quicksilver.

1 мин.
Связаться с нами