Маслосборник и сливная система — [1A350679 & Up] — купить в Victory Marine
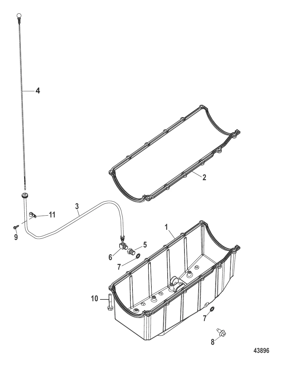
Маслосборник и сливная система
1
2
3
4
5
6
7
8
9
10
11

Маслосборник и сливная система

153 160 ₽

8 659 ₽

13 334 ₽

10 580 ₽

5 . ФИТИНГ Mercury 863389A01

863389 → 863389A01

4 659 ₽

3 884 ₽

7 . Прокладка 8M0077608

49955 → 34502 → 8M0077608

1 562 ₽

8 . Болт 809911001

809911 → 809911001

1 625 ₽

264 ₽

390 ₽

11 . ЗАЖИМ Mercury 65653

819718 → F260446-1 → 65653

626 ₽

Полезные статьи

Все статьи →
Связаться с нами