МАСЛОСБОРНИК И МАСЛЯНЫЙ НАСОС — 1996-1997 [0F820000 THRU 0K999999] — купить в Victory Marine
МАСЛОСБОРНИК И МАСЛЯНЫЙ НАСОС
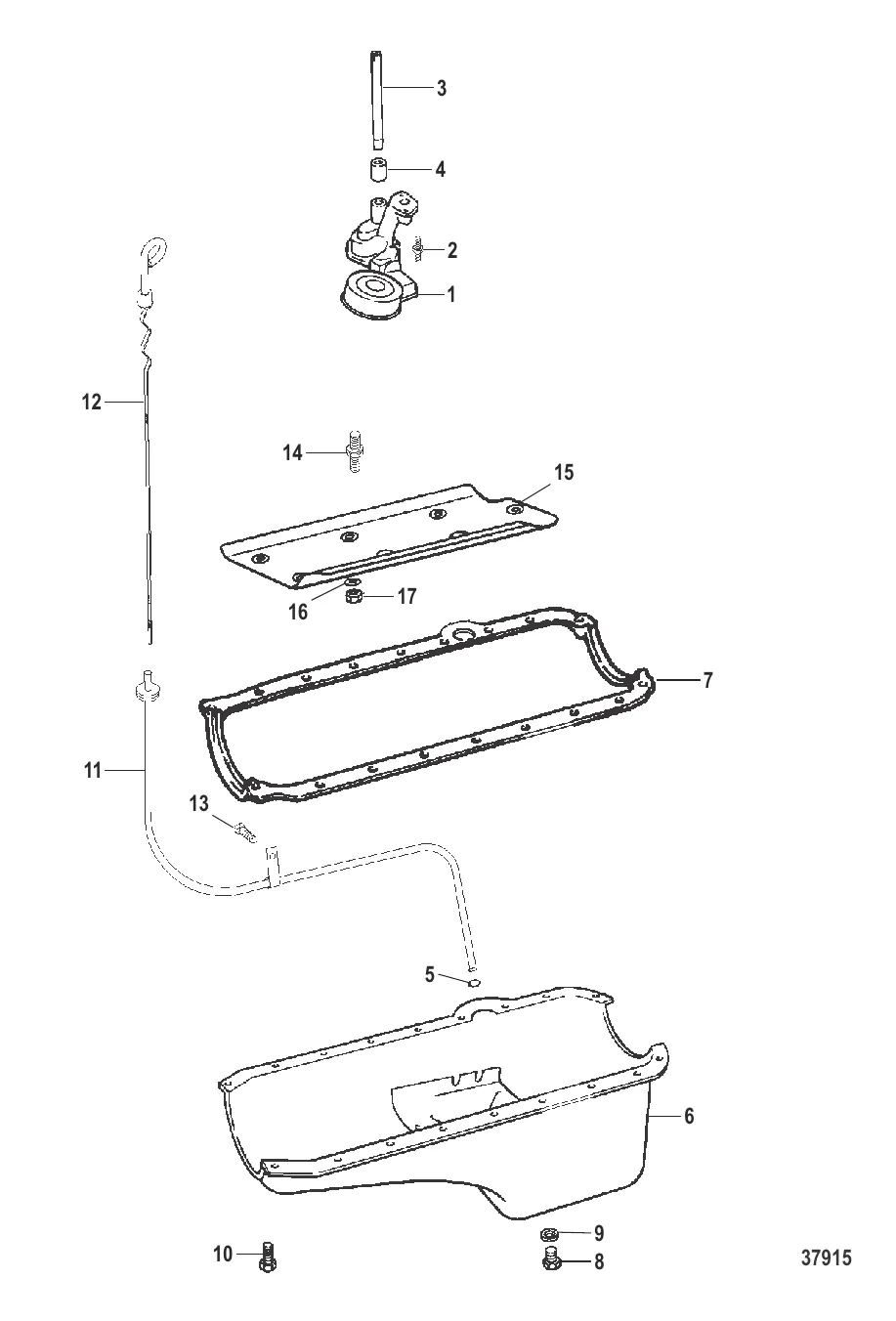
3
4
6
7
8
9
10
11
13
16
17

МАСЛОСБОРНИК И МАСЛЯНЫЙ НАСОС

61 164 ₽

4 050 ₽

5 643 ₽

544 ₽

109 ₽

Уточняйте

14 691 ₽

8 . Болт 809911001

809911 → 809911001

1 625 ₽

9 . Прокладка 8M0077608

49955 → 34502 → 8M0077608

1 562 ₽

224 ₽

21 915 ₽

10 540 ₽

13 . ВИНТ Mercury 8M0040582

35366 → 14762 → 8M0040582

1 705 ₽

5 142 ₽

6 715 ₽

128 ₽

598 ₽

Полезные статьи

Все статьи →
Гайды и подбор

Навигационные огни на лодке — какие нужны, требования и установка

Разбираемся, какие навигационные огни обязательны для маломерных судов по МППСС, чем LED лучше галогена, как установить и не нарваться на штраф ГИМС.

1 мин.
Обслуживание и ремонт

Вибрация лодочного мотора — причины, диагностика и устранение

Вибрация лодочного мотора может быть вызвана десятком причин — от повреждённого винта до износа подвески. Разбираем каждую причину, объясняем, как диагностировать, и рассказываем, что можно исправить самому, а с чем ехать в сервис.

1 мин.
Сравнения и обзоры

Сравнение лодочных моторов 15 л.с. — Mercury, Yamaha, Tohatsu, Suzuki

Подробное сравнение четырёхтактных и двухтактных лодочных моторов 15 л.с. от Mercury, Yamaha, Tohatsu и Suzuki. Вес, цена, особенности, реальные скорости — всё, что нужно для выбора.

1 мин.
Связаться с нами