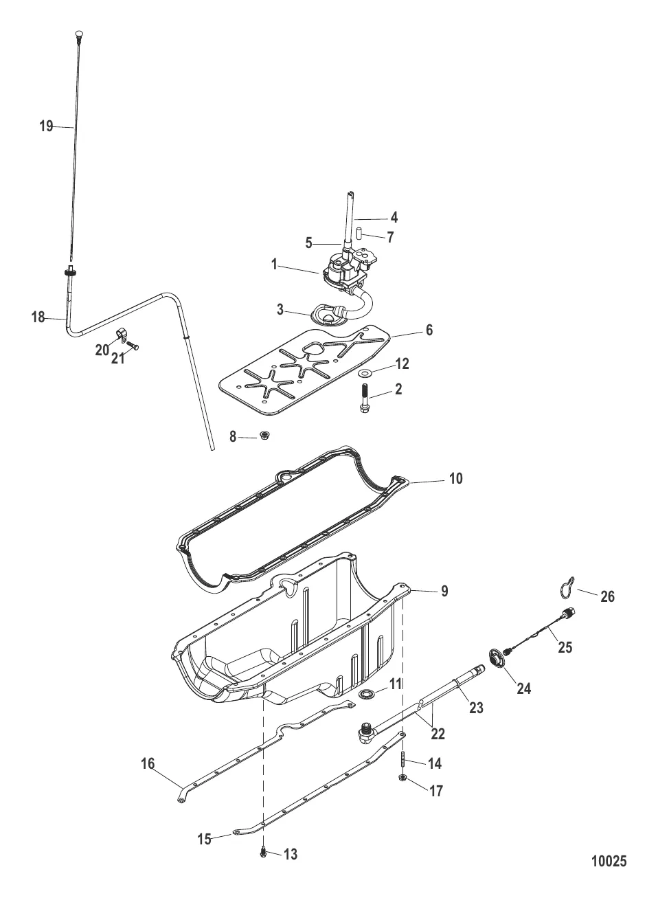
Маслосборник и масляный насос — [1A623185 & Up] - Cat.# 90-8M0049001 — купить в Victory Marine
Маслосборник и масляный насос
2
3
4
5
6
7
8
9
11
12
13
14
15
16
17
18
19
20
21
22
23
24
25
26

Маслосборник и масляный насос

50 611 ₽

2 . ВИНТ Mercury 17346

FI1101324 → 17346

1 939 ₽

6 815 ₽

4 . ВАЛ Mercury 36184

FI1100445 → F3764552 → 36184

3 488 ₽

544 ₽

3 381 ₽

7 . ШТИФТ Штифт Mercury 843378

35312 → FI1100086 → 843378

1 677 ₽

616 ₽

9 . PAN-OIL 8M0150300

809910 → 8M0150300

59 310 ₽

11 . Прокладка 8M0077608

49955 → 34502 → 8M0077608

1 562 ₽

388 ₽

1 441 ₽

1 011 ₽

5 867 ₽

5 694 ₽

17 . NUT 8M0148822

11971 → 8M0148822

2 024 ₽

15 391 ₽

29 363 ₽

19 . ЩУП Mercury 861942T7

15297 → 861942T7

4 129 ₽

2 526 ₽

2 793 ₽

21 . ВИНТ Mercury 8M0040582

35366 → 14762 → 8M0040582

1 705 ₽

15 912 ₽

12 062 ₽

23 . ЗАЖИМ Mercury 863481

897474 → 863481

264 ₽

2 075 ₽

9 995 ₽

1 929 ₽

Полезные статьи

Все статьи →
Связаться с нами