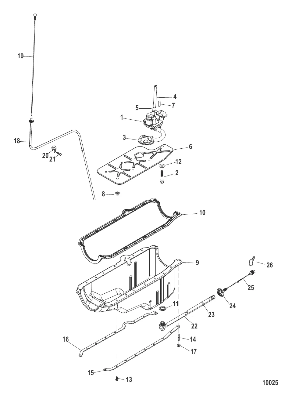
Маслосборник и масляный насос — [0W650000 THRU 1A299999] — купить в Victory Marine
Маслосборник и масляный насос
2
3
4
5
6
7
8
9
11
12
13
14
15
16
17
20
21
22
23
24
25
26

Маслосборник и масляный насос

50 611 ₽

2 . ВИНТ Mercury 17346

FI1101324 → 17346

1 939 ₽

6 815 ₽

4 . ВАЛ Mercury 36184

FI1100445 → F3764552 → 36184

3 488 ₽

544 ₽

3 381 ₽

7 . ШТИФТ Штифт Mercury 843378

35312 → FI1100086 → 843378

1 677 ₽

616 ₽

9 . PAN-OIL 8M0150300

809910 → 8M0150300

59 310 ₽

11 . Прокладка 8M0077608

49955 → 34502 → 8M0077608

1 562 ₽

388 ₽

1 441 ₽

1 011 ₽

5 867 ₽

5 694 ₽

17 . NUT 8M0148822

11971 → 8M0148822

2 024 ₽

13 919 ₽

10 540 ₽

2 793 ₽

21 . ВИНТ Mercury 8M0040582

35366 → 14762 → 8M0040582

1 705 ₽

15 912 ₽

12 062 ₽

23 . ЗАЖИМ Mercury 863481

897474 → 863481

264 ₽

2 075 ₽

9 995 ₽

1 929 ₽

Полезные статьи

Все статьи →
Гайды и подбор

Права на управление лодкой ГИМС — обучение, экзамен и получение удостоверения

Кому нужны права ГИМС, как проходит обучение и экзамен, какие документы собирать и сколько всё это стоит. Разбираем категории судов, нюансы получения и продления удостоверения судоводителя.

1 мин.
Гайды и подбор

Тюнинг и доработка лодки ПВХ своими руками — 15 лучших идей

15 проверенных доработок лодки ПВХ своими руками: усиление дна, мягкие сиденья, держатели удилищ, якорная система, подсветка и другие полезные идеи с ценами и инструкциями.

1 мин.
Гайды и подбор

Карты глубин для рыбалки — приложения, сервисы, как читать рельеф

Карта глубин — это шпаргалка, которая экономит часы поиска рыбы. Разбираем бесплатные и платные сервисы, учимся читать подводный рельеф и находить перспективные точки ещё до выхода на воду.

1 мин.
Связаться с нами