Маслосборник и масляный насос — 1990-1994 [0C856559 THRU 0F353099] - Cat.# 90-81632390 — купить в Victory Marine
Маслосборник и масляный насос
3
7
9
11
12
14
15
16
17
18
21
22
23

Маслосборник и масляный насос

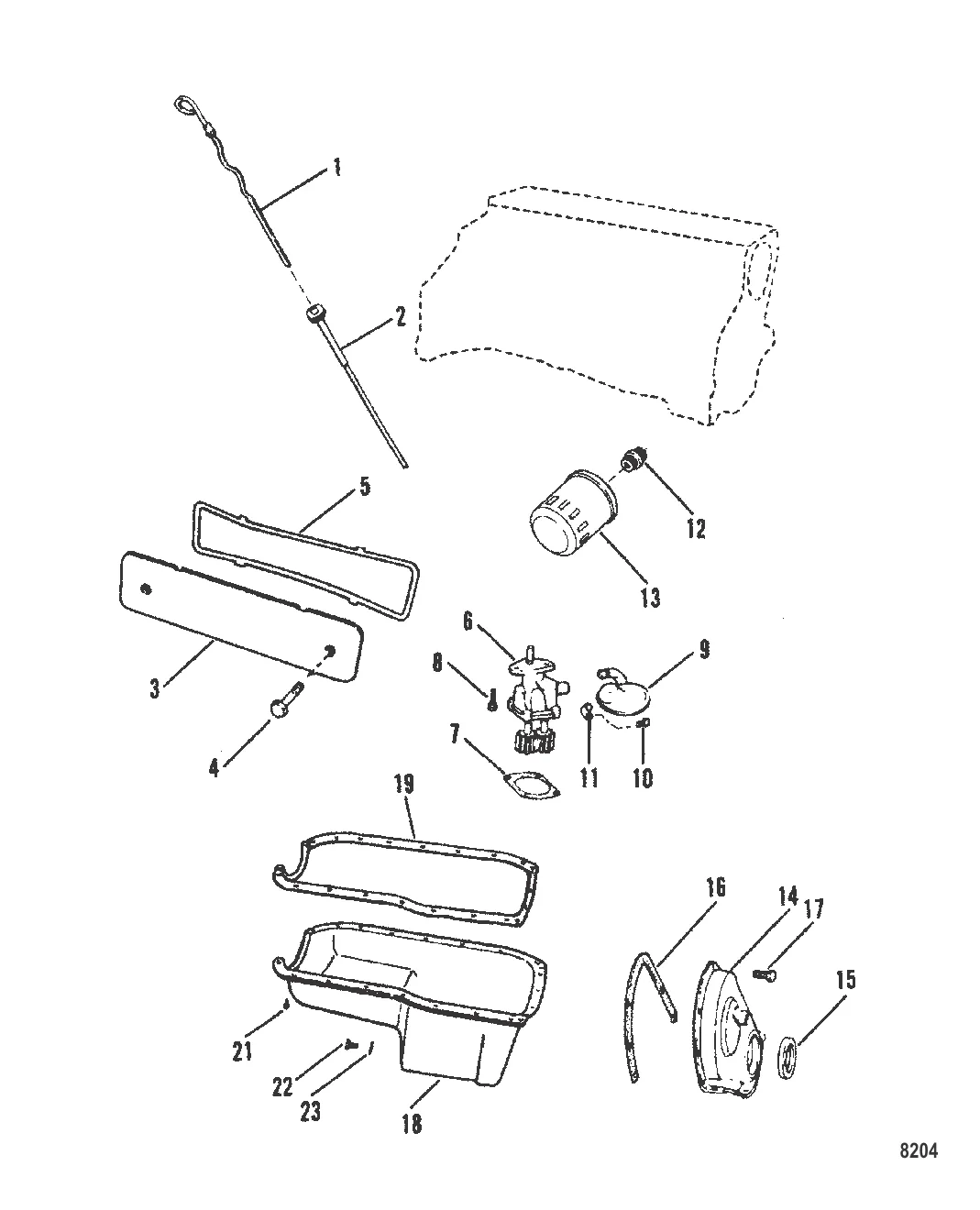
1 . Щуп масляный Mercruiser 3.0L 861942T1

45490 → FI1100579 → FI1101279 → 861942T1

3 393 ₽

10 540 ₽

3 . КРЫШКА Mercury 814702

FI1100635 → 814702

8 519 ₽

1 335 ₽

3 700 ₽

13 494 ₽

261 ₽

8 . ВИНТ (0.312-18 x 0.75) Mercury 8M0043993

845942 → 35339 → 35170 → 8M0043993

237 ₽

16 740 ₽

Уточняйте

3 122 ₽

13 . 866340Q03 Масляный фильтр для Mercruiser 3.0-8.2L (QUICKSILVER)

866340Q02 → 802885Q → 14957 → 52731 → 32717 → 866340Q03

2 200 ₽

14 . КРЫШКА В СБОРЕ Mercury 59341A1

59341 → 49951 → 35603 → 59341A1

33 451 ₽

15 . Сальник 97335

11973 → 97335

6 869 ₽

429 ₽

17 . ВИНТ Mercury 8M0040582

35366 → 14762 → 8M0040582

1 705 ₽

18 . PAN Oil Mercury 8M0122492

810845T → 8M0122492

108 106 ₽

16 900 ₽

21 . ВИНТ (0.312-18 x 0.625) Mercury 34500

FI1100945 → F839896 → 34500

1 714 ₽

1 970 ₽

23 . Прокладка 8M0077608

49955 → 34502 → 8M0077608

1 562 ₽

Полезные статьи

Все статьи →
Связаться с нами