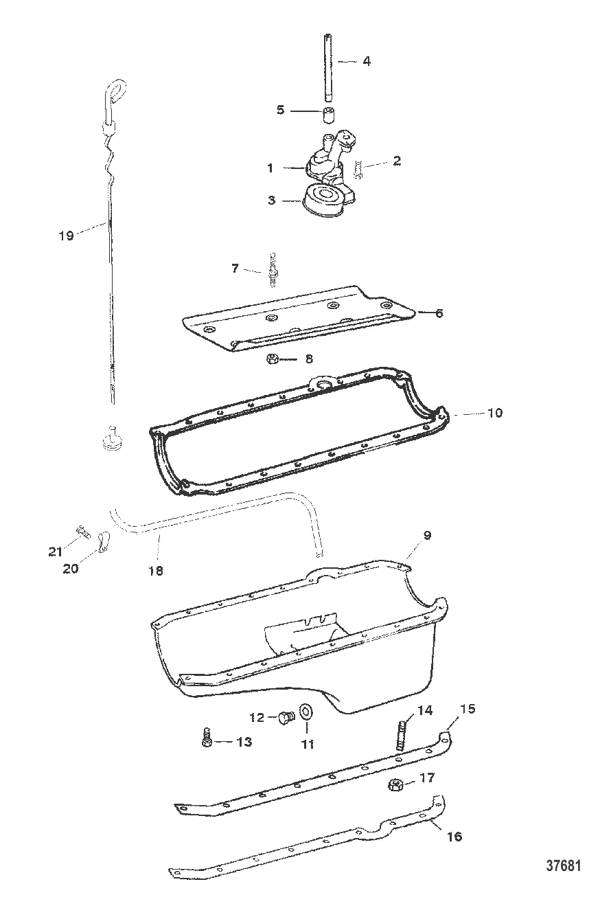
МАСЛОСБОРНИК И МАСЛЯНЫЙ НАСОС — 1988-1995 [0B774445 THRU 0F600999] - Cat.# 90-816596 — купить в Victory Marine
МАСЛОСБОРНИК И МАСЛЯНЫЙ НАСОС
1
2
3
4
5
6
7
8
9
11
12
13
14
15
16
17
18
19
20
21

МАСЛОСБОРНИК И МАСЛЯНЫЙ НАСОС

12 608 ₽

2 . ВИНТ Mercury 17346

FI1101324 → 17346

1 939 ₽

Уточняйте

4 . ВАЛ Mercury 36184

FI1100445 → F3764552 → 36184

3 488 ₽

544 ₽

3 381 ₽

7 . ШПИЛЬКА Mercury 54790

FI1100376 → 54790

3 688 ₽

598 ₽

9 . PAN-OIL 8M0150300

809910 → 8M0150300

59 310 ₽

18 000 ₽

11 . Прокладка 8M0077608

49955 → 34502 → 8M0077608

1 562 ₽

1 970 ₽

1 441 ₽

1 011 ₽

5 867 ₽

5 694 ₽

17 . NUT 8M0148822

11971 → 8M0148822

2 024 ₽

14 582 ₽

19 . ЩУП Mercury 861942T7

15297 → 861942T7

4 129 ₽

2 793 ₽

21 . ВИНТ Mercury 8M0040582

35366 → 14762 → 8M0040582

1 705 ₽

Полезные статьи

Все статьи →
Связаться с нами