Маслосборник и масляный насос — 1998 [0K095775 & Up] — купить в Victory Marine
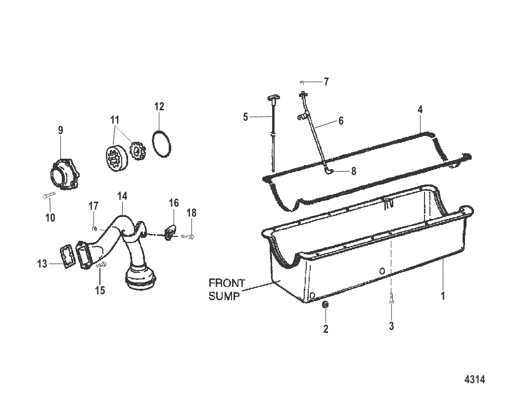
Маслосборник и масляный насос
1
2
3
5
6
7
8
9
10
11
12
13
14
15
16
17
18

Маслосборник и масляный насос

72 201 ₽

Уточняйте

34 ₽

4 619 ₽

Уточняйте

6 . ТРУБА Mercury 853094

853249 → 853094

1 498 ₽

76 ₽

1 820 ₽

10 409 ₽

Уточняйте

25 507 ₽

2 457 ₽

937 ₽

8 246 ₽

15 . ВИНТ Mercury 853242

853089 → 853242

Уточняйте

Уточняйте

Уточняйте

Уточняйте

Полезные статьи

Все статьи →
Гайды и подбор

Оснастка для троллинга — даунриггеры, планерные доски и держатели удилищ

Разбираем серьёзную оснастку для троллинга: даунриггеры Scotty и Cannon, планерные доски, мультиродовые сетапы и держатели удилищ. Конкретные модели, цены и схемы установки.

1 мин.
Обслуживание и ремонт

Ремонт лодки ПВХ своими руками — как заклеить прокол, порез и шов

Подробная инструкция по ремонту лодки ПВХ: выбор клея, заплатки, горячий и холодный метод склейки. Разбираем типичные повреждения и рассказываем, когда можно починить самому, а когда лучше к мастеру.

1 мин.
Гайды и подбор

Рыбалка в Карелии с лодки — ТОП водоёмов, виды рыб, советы

Карелия — рай для рыбака с лодкой: тысячи озёр, чистейшая вода и трофейная рыба. Разбираем лучшие водоёмы, видовой состав, выбор мотора и всё, что нужно знать перед поездкой.

1 мин.
Связаться с нами