Маслоотделитель — CMD QSD 4.2 EI 270 — купить в Victory Marine
Маслоотделитель
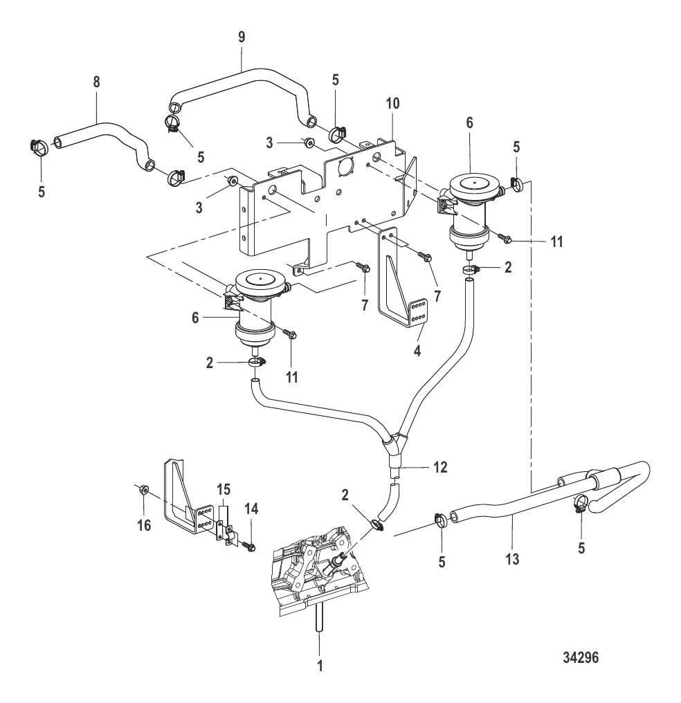
1
2
3
5
6
7
8
9
10
11
12
13
14
15
16

Маслоотделитель

5 037 ₽

2 . CLAMP 8M0129901

896332106 → 8M0129901

177 ₽

3 . ГАЙКА Mercury 898101541

854032 → 898101541

27 ₽

968 ₽

24 423 ₽

7 . ВИНТ Mercury 898101549

879271 → 898101549

27 ₽

8 . труба Mercury 879194426

898101454 → 879194426

2 350 ₽

9 . труба Mercury 879194427

898101455 → 879194427

3 255 ₽

10 . BRACKET 8M0162242

879194131 → 8M0162242

19 863 ₽

11 . ВИНТ Mercury 898101550

896332173 → 898101550

42 ₽

4 636 ₽

8 278 ₽

14 . ВИНТ Mercury 898101547

896332104 → 898101547

65 ₽

2 385 ₽

77 ₽

Полезные статьи

Все статьи →
Связаться с нами