МАСЛЯНЫЙ ФИЛЬТР И ПЕРЕХОДНИК (502) (С/Н F114529 И ВЫШЕ) — 1993-1995 [0D840650 THRU 0F802599] — купить в Victory Marine
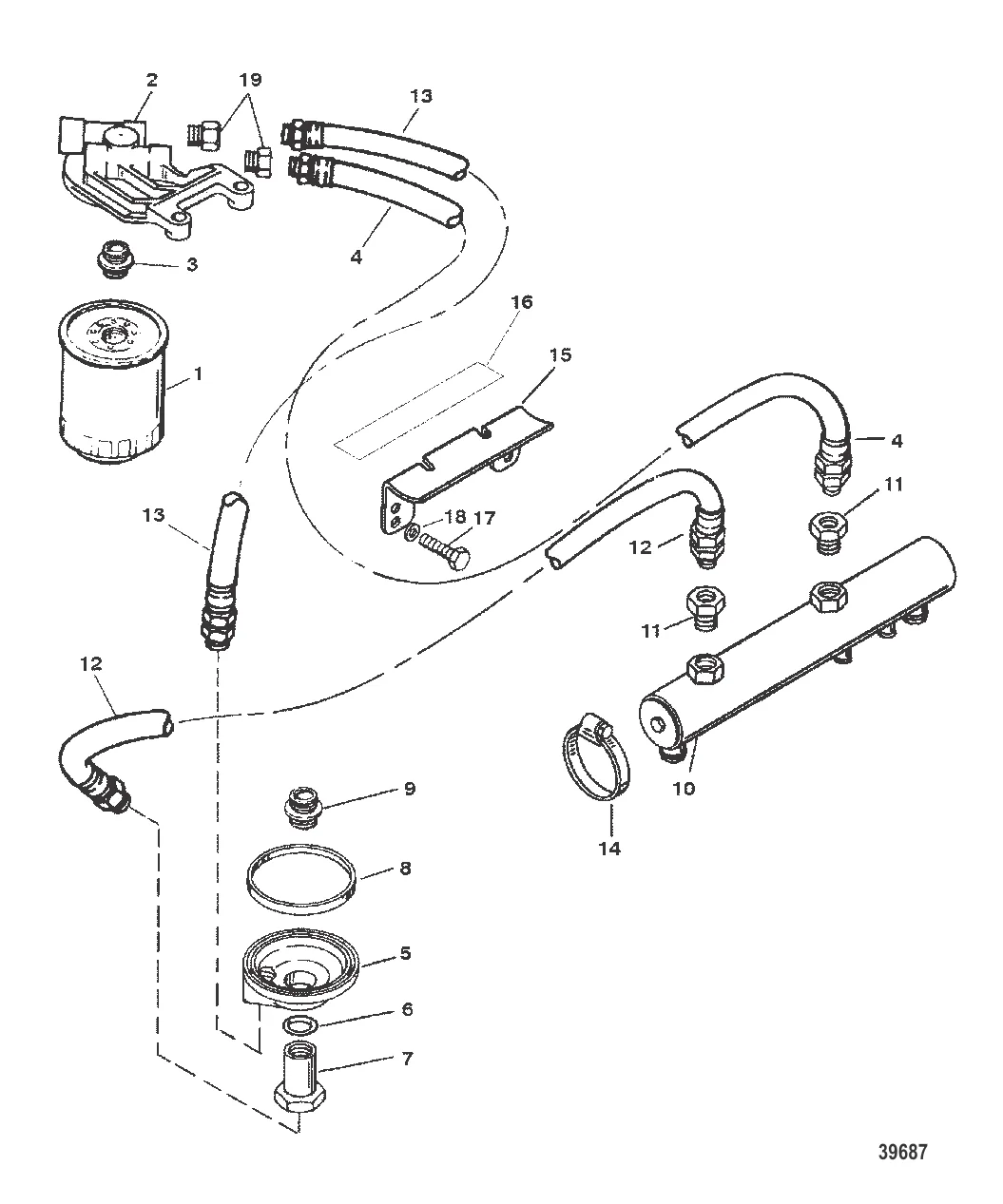
МАСЛЯНЫЙ ФИЛЬТР И ПЕРЕХОДНИК (502) (С/Н F114529 И ВЫШЕ)
2
3
4
5
6
7
8
9
10
12
13
15
16
17
18

МАСЛЯНЫЙ ФИЛЬТР И ПЕРЕХОДНИК (502) (С/Н F114529 И ВЫШЕ)

1 . 866340Q03 Масляный фильтр для Mercruiser 3.0-8.2L (QUICKSILVER)

866340Q02 → 802885Q → 14957 → 52731 → 32717 → 866340Q03

2 200 ₽

Уточняйте

3 946 ₽

12 901 ₽

5 . ADAPTER Mercury 818400A1

807080T → 818400A1

15 387 ₽

1 009 ₽

4 659 ₽

415 ₽

3 122 ₽

206 704 ₽

16 932 ₽

13 041 ₽

3 149 ₽

Уточняйте

740 ₽

364 ₽

283 ₽

Полезные статьи

Все статьи →
Связаться с нами