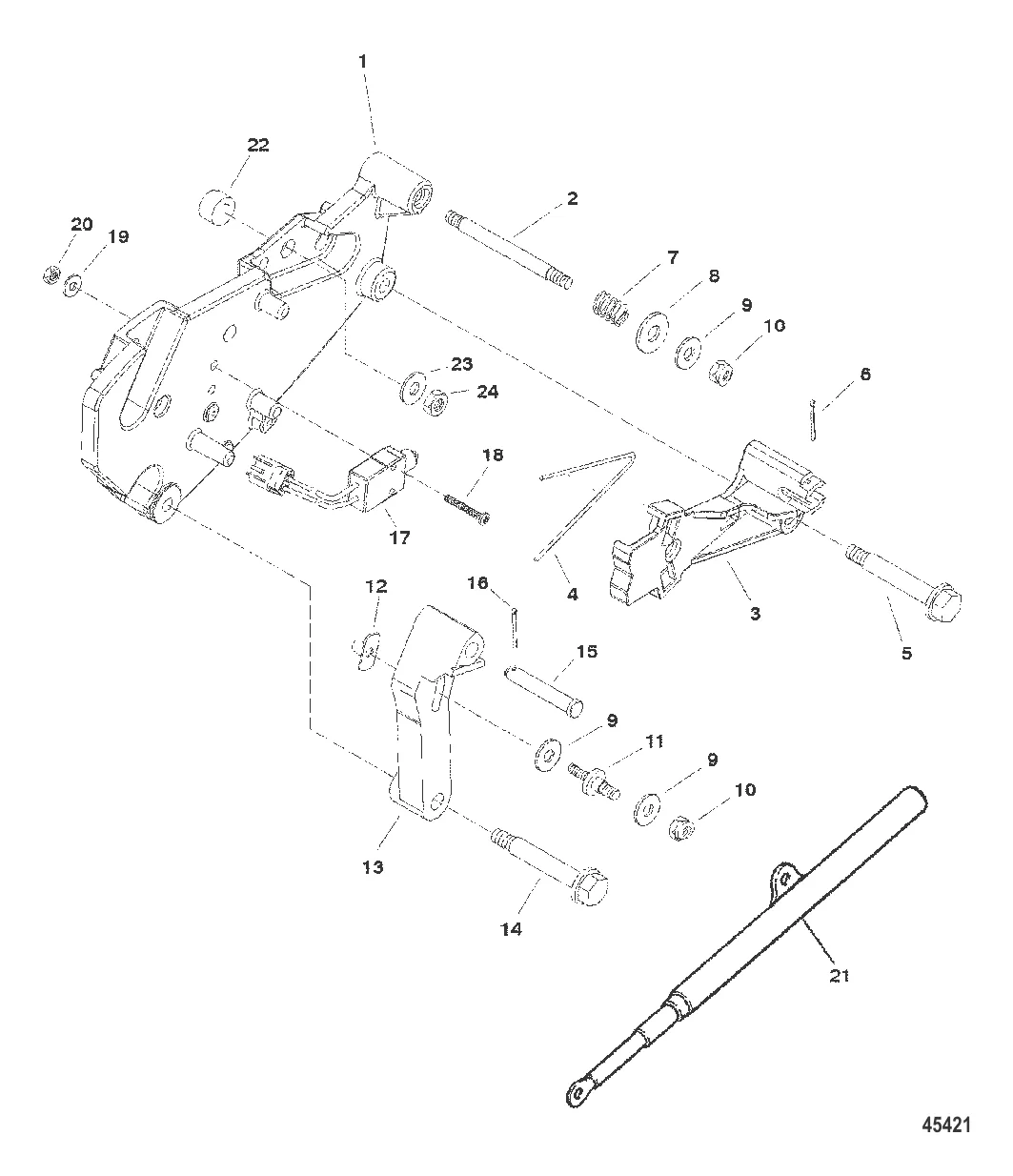
КРОНШТЕЙН ПЕРЕКЛЮЧЕНИЯ ПЕРЕДАЧ (ДВИГАТЕЛИ ALPHA) — 1997 [0K001509 & Up] — купить в Victory Marine
КРОНШТЕЙН ПЕРЕКЛЮЧЕНИЯ ПЕРЕДАЧ (ДВИГАТЕЛИ ALPHA)
2
3
4
6
7
10
11
12
15
16
17
18
19
20
21
22
24

КРОНШТЕЙН ПЕРЕКЛЮЧЕНИЯ ПЕРЕДАЧ (ДВИГАТЕЛИ ALPHA)

1 . Кронштейн механизма переключения хода Mercruiser Alpha/Bravo 807962A15

807962A14 → 807962A10 → 807962A3 → 99237A10 → 99237A2 → 807962A15

24 070 ₽

2 . ШПИЛЬКА Mercury 865149A02

865149A01 → 865149A02

1 280 ₽

3 . РЫЧАГ В СБОРЕ Mercury 865433A02

865433A01 → 13051A8 → 865433A02

6 025 ₽

1 490 ₽

6 . ШПЛИНТ Mercury 328571

32857 → 22927 → 328571

268 ₽

387 ₽

284 ₽

266 ₽

506 ₽

291 ₽

5 316 ₽

Уточняйте

744 ₽

467 ₽

9 150 ₽

226 ₽

372 ₽

Уточняйте

7 455 ₽

784 ₽

258 ₽

24 . ГАЙКА (0.250-20) Mercury 64015

F1341 → F15051 → 64015

266 ₽

Полезные статьи

Все статьи →
Связаться с нами