Крепления двигателя — [0W310000 THRU 0W649999] — купить в Victory Marine
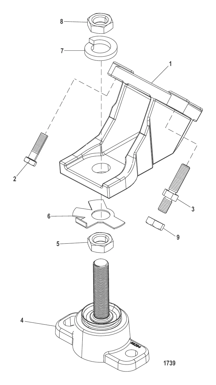
Крепления двигателя
1
2
3
4
6
7
8

Крепления двигателя

39 401 ₽

659 ₽

1 109 ₽

24 171 ₽

566 ₽

249 ₽

740 ₽

1 020 ₽

Полезные статьи

Все статьи →
Связаться с нами