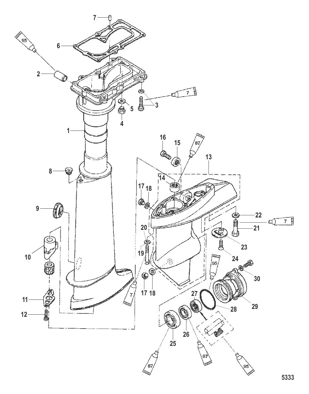
Корпус ведущего вала/картер редуктора — [0T894439 & Up] - USA — купить в Victory Marine
Корпус ведущего вала/картер редуктора
1
2
3
4
6
7
10
11
12
14
16
19
21
22
23
24
29
30

Корпус ведущего вала/картер редуктора

1 . HSG D/S LONG Mercury 8M0089106

825136A1 → 8M0089106

43 946 ₽

Уточняйте

1 095 ₽

3 . БОЛТ Mercury 879194264

82304224 → 879194264

159 ₽

221 ₽

1 118 ₽

275 ₽

317 ₽

2 909 ₽

273 ₽

152 ₽

185 ₽

104 893 ₽

13 . Корпус редуктора 825132T30

825132T17 → 825132T1 → 825132A1 → 9620 → 825132T30

34 763 ₽

1 683 ₽

466 ₽

221 ₽

698 ₽

19 . болт Mercury 8M0063198

161251 → 8M0063198

190 ₽

133 ₽

21 . БОЛТ Mercury 16126

16698 → 16126

218 ₽

22 . ШАЙБА Mercury 16192

879194339 → 895106001 → 16192

167 ₽

766 ₽

190 ₽

1 477 ₽

564 ₽

3 701 ₽

30 . Болт 8248324

82304213 → 804368 → 8248324

194 ₽

Полезные статьи

Все статьи →
Связаться с нами