Корпус ведущего вала — [0N055505 & Up] - Belgium - Cat.# 90-803821006 — купить в Victory Marine
Корпус ведущего вала
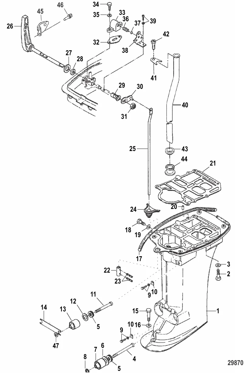
1
2
4
5
6
7
8
9
10
11
12
13
14
15
16
17
18
20
22
23
24
25
26
27
28
29
30
31
32
33
34
36
37
38
39
40
41
42
43
44
45
46
47

Корпус ведущего вала

1 . D/S корпус Mercury 8M0065998

812942T01 → 8M0065998

220 013 ₽

1 . D/S корпус Mercury 8M0065999

812943T01 → 8M0065999

299 070 ₽

340 ₽

706 ₽

2 913 ₽

1 301 ₽

341 ₽

7 . LOWER MOUNT Mercury 8M0074132

8537711 → 8M0074132

6 658 ₽

8 . ШАЙБА Mercury 879194340

895141 → 879194340

175 ₽

9 . болт Mercury 8M0098607

879194272 → 8M0098607

323 ₽

384 ₽

11 . ВИНТ Mercury 812935008

8129353 → 812935008

2 693 ₽

296 ₽

3 064 ₽

716 ₽

15 . болт Mercury 879194307

16695006 → 879194307

313 ₽

15 . болт Mercury 879194308

803726001 → 879194308

431 ₽

16 . шайба Mercury 8M0135942

853701 → 8M0135942

662 ₽

1 105 ₽

221 ₽

275 ₽

6 864 ₽

805 ₽

105 ₽

715 ₽

3 152 ₽

16 408 ₽

6 785 ₽

240 ₽

430 ₽

512 ₽

2 232 ₽

578 ₽

290 ₽

1 051 ₽

221 ₽

133 ₽

158 ₽

455 ₽

1 895 ₽

39 . ВИНТ Mercury 898101354

953962 → 898101354

180 ₽

2 271 ₽

2 869 ₽

2 959 ₽

3 032 ₽

478 ₽

42 . БОЛТ Mercury 162231

953961 → 162231

Уточняйте

322 ₽

296 ₽

3 287 ₽

46 . Болт 8248324

82304213 → 804368 → 8248324

194 ₽

221 ₽

Полезные статьи

Все статьи →
Обслуживание и ремонт

Электросхема лодочного мотора Mercury: популярные модели

Подробный разбор электросхем лодочных моторов Mercury — от простых 9.9/15 двухтактных до мощных 150-200 четырёхтактных. Цветовая маркировка проводов, система зажигания, зарядки и запуска. Диагностика мультиметром, типичные неисправности и когда пора к электрику.

3 мин.
Гайды и подбор

Как выбрать лодку ПВХ для рыбалки — НДНД, пайол, размеры

Подробный разбор: какое дно лучше для рыбалки — НДНД или пайол, какой размер лодки на 1–3 человека, как подобрать мотор. С примерами из практики и конкретными цифрами.

1 мин.
Гайды и подбор

Гидрокрыло на лодочный мотор: нужно ли оно и как установить

Разбираемся, когда гидрокрыло реально помогает выйти на глисс, а когда это лишняя трата денег. Тест на Mercury 9.9 + Ривьера 340, обзор моделей SE Sport и StingRay, пошаговая установка.

1 мин.
Связаться с нами