Корпус маховика (ПОВОРОТНО-ОТКИДНАЯ КОЛОНКА) — [88030001 THRU 88030344] — купить в Victory Marine
Корпус маховика (ПОВОРОТНО-ОТКИДНАЯ КОЛОНКА)
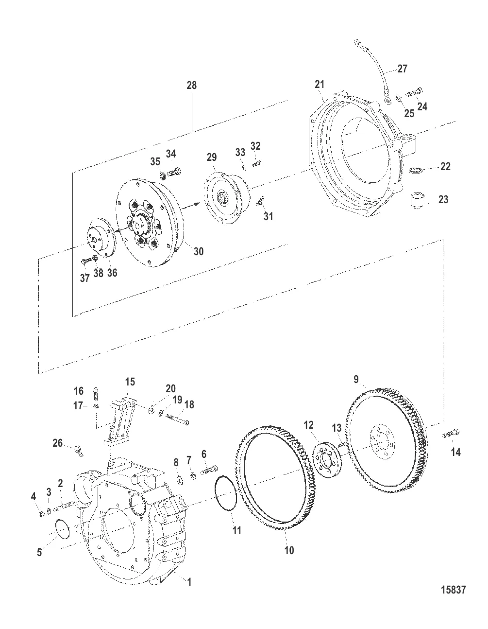
1
2
3
4
5
6
7
8
9
10
11
12
13
14
15
16
17
18
20
21
22
23
24
25
26
29
30
31
32
34
35
37

Корпус маховика (ПОВОРОТНО-ОТКИДНАЯ КОЛОНКА)

72 244 ₽

2 . шпилька Mercury 8M0048120

809908402 → 8M0048120

203 ₽

23 ₽

4 . гайка Mercury 8M0048118

811458 → 8M0048118

179 ₽

1 030 ₽

6 . ВИНТ Mercury 898101563

896332203 → 898101563

99 ₽

39 ₽

54 ₽

124 935 ₽

31 055 ₽

876 ₽

12 . SPACER-FLYWHEEL 8M0148571

889030 → 8M0148571

10 780 ₽

99 ₽

14 . ВИНТ Mercury 879711

811454 → 801331703 → 879711

801 ₽

15 802 ₽

16 . ВИНТ Mercury 898101534

811457 → 898101534

80 ₽

84 ₽

187 ₽

19 . СТОПОРНАЯ ШАЙБА Mercury 811460

811451 → 809932095 → 809932081 → 811460

23 ₽

238 ₽

Уточняйте

181 ₽

18 903 ₽

93 ₽

23 ₽

7 222 ₽

2 646 ₽

205 224 ₽

70 511 ₽

149 627 ₽

279 ₽

185 ₽

34 . ВИНТ Mercury 898101564

896332074 → 898101564

99 ₽

68 ₽

435 ₽

Полезные статьи

Все статьи →
Обслуживание и ремонт

Масло в редуктор лодочного мотора: какое, сколько, как менять

Разбираем всё про редукторное масло: какое заливать, сколько нужно для Mercury и Tohatsu, пошаговая замена, как читать старое масло и не попасть на дорогой ремонт.

1 мин.
Гайды и подбор

ППВВП для маломерных судов — навигационные правила простым языком

Правила плавания по внутренним водным путям кажутся сложными только на первый взгляд. Разбираем основные навигационные правила для маломерных судов: приоритет, знаки, скорость, обгон и ночное плавание.

1 мин.
Гайды и подбор

Лодка перевернулась — порядок действий и как этого избежать

Переворот лодки — экстренная ситуация, но не приговор, если знаешь что делать. Разбираем пошаговый алгоритм действий, способы подачи сигнала и главное — как не допустить опрокидывания.

1 мин.
Связаться с нами