Корпус маховика (Бортовые двигатели) — [88005001 THRU 88005167] — купить в Victory Marine
Корпус маховика (Бортовые двигатели)
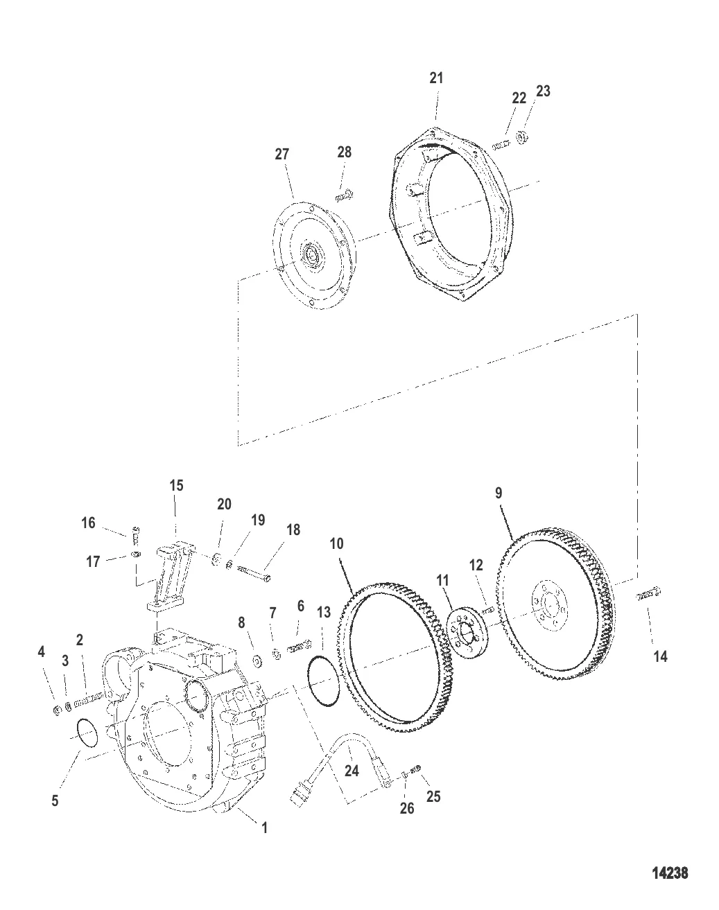
1
2
3
4
5
6
7
8
9
10
11
12
13
14
15
16
17
18
20
21
22
23
24
25
26
27
28

Корпус маховика (Бортовые двигатели)

93 272 ₽

2 . шпилька Mercury 8M0048120

809908402 → 8M0048120

203 ₽

23 ₽

4 . гайка Mercury 8M0048118

811458 → 8M0048118

179 ₽

1 030 ₽

6 . ВИНТ Mercury 898101563

896332203 → 898101563

99 ₽

39 ₽

54 ₽

84 559 ₽

31 055 ₽

11 . SPACER-FLYWHEEL 8M0148571

889030 → 8M0148571

10 780 ₽

99 ₽

876 ₽

14 . ВИНТ Mercury 879711

811454 → 801331703 → 879711

801 ₽

15 802 ₽

16 . ВИНТ Mercury 898101534

811457 → 898101534

80 ₽

84 ₽

187 ₽

19 . СТОПОРНАЯ ШАЙБА Mercury 811460

811451 → 809932095 → 809932081 → 811460

23 ₽

238 ₽

60 221 ₽

322 ₽

23 . ГАЙКА (M10) Mercury 854122001

854122 → 801333455 → 854122001

50 ₽

14 759 ₽

25 . ВИНТ Mercury 898101524

854205 → 898101524

23 ₽

26 . ШАЙБА Mercury 879194114

811450 → 809932062 → 809932071 → 879194114

9 ₽

184 044 ₽

28 . ВИНТ Mercury 898101562

854155001 → 898101562

84 ₽

Полезные статьи

Все статьи →
Связаться с нами