КОРПУС МАХОВИКА — 1997 [0K040400 THRU 0K999999] — купить в Victory Marine
КОРПУС МАХОВИКА
2
3
4
5
7
8
9
10
11
12
13
14
15
16
18
19

КОРПУС МАХОВИКА

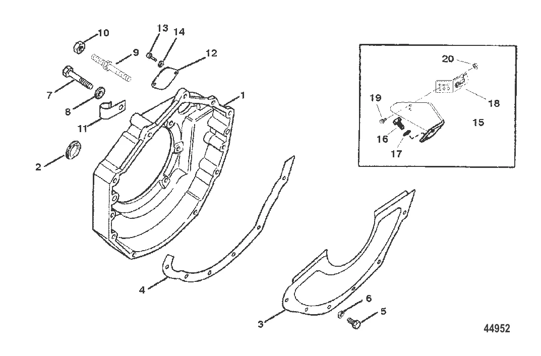
1 . КОРПУС В СБОРЕ Mercury 814309A1

44187A1 → 86019A1 → 86019 → 63828 → 814309A1

106 934 ₽

2 637 ₽

3 . КОМПЛЕКТ КРЫШЕК Mercury 818718A3

14043A4 → 12393A2 → 818718A3

9 724 ₽

1 557 ₽

152 ₽

109 ₽

258 ₽

316 ₽

248 ₽

8 . Шайба 35048

37459 → 27969 → 35048

171 ₽

216 ₽

300 ₽

10 . ГАЙКА (.375-16) Mercury 32219

28517 → 33249 → 32219

290 ₽

594 ₽

8 048 ₽

1 961 ₽

171 ₽

2 619 ₽

77 ₽

109 ₽

5 747 ₽

261 ₽

332 ₽

Полезные статьи

Все статьи →
Связаться с нами