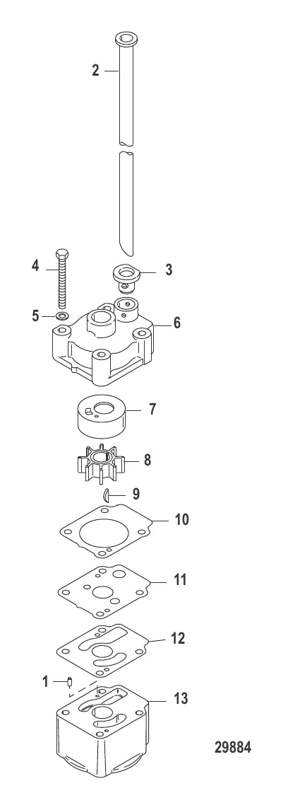
Компоненты водометного насоса
386 ₽
2 869 ₽
315 ₽
741 ₽
133 ₽
6 495 ₽
904 ₽
Уточняйте
997 ₽
400 ₽
1 742 ₽
2 071 ₽
35 017 ₽
386 ₽
2 869 ₽
315 ₽
741 ₽
133 ₽
6 495 ₽
904 ₽
Уточняйте
997 ₽
400 ₽
1 742 ₽
2 071 ₽
35 017 ₽
Оставьте номер — наш эксперт перезвонит и подберёт нужные запчасти
Нажимая кнопку, вы соглашаетесь на обработку персональных данных
Наш эксперт свяжется с вами в ближайшее время
Скидка будет применена к вашему заказу